| Typ | Bauform | Aufdruck | Beschreibung | Datenblatt | Vergleichstyp |
|---|---|---|---|---|---|
| 2712 | Hybrid-IC Antennenbreitbandverstärker | ||||
| 2GA109 | DO 7 | Ge Diodenpaar 40V 15 mA | |||
| 2GA113 | DO 7 | Ge Diodenpaar 25V 30 mA | |||
| 2OA646 | DO 7 | Ge Diodenpaar 40V 15 mA | |||
| 4GA114 | DO 7 | Ge Diodenquartett 25V 30 mA | |||
| A109D | DIL 14 | Universeller OPV | PDF: 298K | µA709 | |
| A110D | DIL 14 | Komparator mit TTL-Ausgang | PDF: 982K | SN72710N | |
| A1524D | DIL 18 | NF-Stereo-Einsteller | PDF: 572K | TDA1524 | |
| A1670V | Multiwatt 15 | Vertikalablenkschaltung | PDF: 309K | TDA1670A | |
| A1818D | DIL 20 | Rauscharmer Aufnahme-Wiedergabeverstärker | PDF: 355K | LM1818 | |
| A2000V | Multiwatt 11 | Doppel-NF-Leistungsverstärker | PDF: 476K | TDA4925 | |
| A2005V | Multiwatt 11 | Doppel-NF-Leistungsverstärker | PDF: 476K | TDA2005 | |
| A2014DC | DIL 8 | Videoschalter | TEA2014 | ||
| A202D | DIL 16 | Aufnahme-, Mikrofon- und Wiedergabeverstärker | PDF: 137K | TDA1002 | |
| A203 | DIL 12 | 3-W-NF-Verstärker | |||
| A2030H/V | TO 220-5 | 16-W-NF-Verstärker | PDF: 325K | TDA2030 | |
| A204 | DIL 12 | 5-W-NF-Verstärker für Vertikalablenkung | PDF: 18K | ||
| A205 | DIL 12 | 5-W-NF-Verstärker | PDF: 757K | ||
| A208 | DIL 12 | 3-W-NF-Verstärker | PDF: 603K | ||
| A209 | DIL 12 | 4,5-W-Verstärker für Vertikalablenkung | PDF: 226K | ||
| A210E | DIL 12 | 6-W-NF-Leistungsverstärker ohne Kühlkörper | PDF: 139K | TBA810AS | |
| A210K | DIL 12 | 6-W-NF-Leistungsverstärker mit Kühlkörper | PDF: 139K | TBA810S | |
| A211D | DIL 14 | 1-W-NF-Leistungsverstärker | PDF: 988K | TAA611 | |
| A220D | DIL 14 | Ton-ZF-Verstärker | PDF: 2,7M | TBA120S | |
| Typ | Bauform | Aufdruck | Beschreibung | Datenblatt | Vergleichstyp |
| A223D | DIL 14 | Ton-ZF-Verstärker mit Lautstärkesteller | PDF: 1,5M | TBA120U | |
| A224D | DIL 14 | Ton-ZF-Verstärker mit LS-Steller für Keramikfilter | PDF: 938K | TBA120T | |
| A225D | DIL 18 | FM-ZF-Verstärker und Demodulator | PDF: 417K | TDA1047 | |
| A230D | DIL 16 | RGB-Matrix | PDF: 403K | ||
| A231D | DIL 16 | RGB-Matrix | PDF: 409K | (TBA530) | |
| A232D | DIL 16 | RGB-Matrix | PDF: 587K | TDA2532 | |
| A240D | DIL 14 | Bild-ZF-Verstärker | PDF: 387K | TDA440 | |
| A241D | DIL 16 | Bild-ZF-Verstärker | PDF: 144K | TDA2541 | |
| A244D | DIL 16 | AM-Empfänger | PDF: 201K | TCA440 | |
| A250D | DIL 14 | Horizontalkombination | PDF: 433K | TBA950 | |
| A252 | DIL 14 | Horizontalkombination | PDF: 418K | ||
| A255D | DIL 16 | Horizontalkombination | PDF: 427K | TDA2593 | |
| A270D | DIL 16 | Videoverstärker | PDF: 499K | TBA970 | |
| A273D | DIL 16 | Lautstärke- und Balanceeinsteller (Stereo) | PDF: 111K | TCA730 | |
| A274D | DIL 16 | Höhen- und Tiefeneinsteller (Stereo) | PDF: 99K | TCA740 | |
| A277D | DIL 18 | LED-Treiber für Punkt- oder Bandanzeige | PDF: 569K | (UAA180) | |
| A281D | DIL 14 | AM-FM-ZF-Empfängerschaltkreis | PDF: 1,8M | TAA981 | |
| A283D | DIL 16 | Einchip-AM/FM-Empfängerschaltkreis | PDF: 263K | TDA1083 | |
| A290D | DIL 14 | Stereodekoder (PLL-Verfahren) | MC1310P | ||
| A295D | DIL 14 | Secam-Farbkanalschalter | PDF: 119K | ||
| A301D | DIL 14 | Initiator | PDF: 844K | (TCA205A) | |
| A301W | DIL 8 | (301) | Initiator | PDF: 844K | (TCA205A) |
| A302D | DIL 4 | Schwellspannungsschaltkreis | PDF: 585K | TCA345A | |
| A3048DC | DIL 16 | Infrarot-Empfänger | TDA3048 | ||
| A311D | DIL 18 | Steuer-IC für Kameras | PDF: 43K | ||
| Typ | Bauform | Aufdruck | Beschreibung | Datenblatt | Vergleichstyp |
| A321G | PLCC 48 | Komplexer Kamera-Schaltkreis | PDF: 766k | ||
| A3501D | DIL 28 | Videokombination | PDF: 340K | TDA3501 | |
| A3510D | DIL 24 | PAL-Dekoder | PDF: 283K | TDA3510 | |
| A3520D | DIL 28 | SECAM-Dekoder | PDF: 288K | TDA3520 | |
| A4100D | DIL 22 | AM-FM-Kombi-Schaltung | TDA4100 | ||
| A4510D | DIL 18 | PLL-Stereodekoder für Batteriebetrieb | PDF: 309K | TCA4510 | |
| A4511D | DIL 18 | PLL-Stereodekoder vorzugsweise für Netzbetrieb | PDF: 328K | TCA4511 | |
| A4555D | DIL 28 | Multistandarddekoder | TDA4555 | ||
| A4565D | DIL 18 | Signalversteilerungs- und Verzögerungsschaltung | TDA4565 | ||
| A4580D | DIL 28 | Videokombination | TDA4580 | ||
| A902D | DIL 4 | Schmitt-Trigger-IC für Kameras | PDF: 186K | ||
| A910 | DIL 14 | Steuer-IC für Kameras | PDF: 186K | ||
| B060D | DIL 8 | 060 / 60. | Kleinleistungs-BIFET-OPV | PDF: 184K | TL060 |
| B061D | DIL 8 | Kleinleistungs-BIFET-OPV | PDF: 184K | TL061 | |
| B062D | DIL 8 | Kleinleistungs-BIFET-OPV | PDF: 184K | TL062 | |
| B064D | DIL 14 | Kleinleistungs-BIFET-OPV | PDF: 184K | TL064 | |
| B066D | DIL 8 | Kleinleistungs-BIFET-OPV | PDF: 184K | TL066 | |
| B080D | DIL 8 | BIFET-OPV | PDF: 107K | TL080 | |
| B081D | DIL 8 | BIFET-OPV | PDF: 107K | TL081 | |
| B082D | DIL 8 | BIFET-OPV | PDF: 107K | TL082 | |
| B083D | DIL 14 | BIFET-OPV | PDF: 107K | TL083 | |
| B084D | DIL 14 | BIFET-OPV | PDF: 107K | TL084 | |
| B109D | DIL 14 | Universeller OPV | PDF: 298K | µA709 | |
| B110D | DIL 14 | Komparator mit TTL-Ausgang | PDF: 982K | SN72710N | |
| B125/110-20 | Metall | Si-Einphasen-Gleichrichterbrücke 125V 20A | PDF: 520K | ||
| Typ | Bauform | Aufdruck | Beschreibung | Datenblatt | Vergleichstyp |
| B165 | TO 220-5 | Leistungs-OPV 20 W | PDF: 125K | L165 | |
| B176D | DIL 8 | 176 | Programmierbarer OPV | PDF: 83K | µA176 |
| B177D | DIL 14 | Programmierbarer OPV | PDF: 83K | µA177 | |
| B20/15-20 | Metall | Si-Einphasen-Gleichrichterbrücke 20V 20A | PDF: 520K | ||
| B222D | DIL 14 | Doppelgegentaktmischer | PDF: 128K | ||
| B250/220-20 | Metall | Si-Einphasen-Gleichrichterbrücke 250V 20A | PDF: 520K | ||
| B2600DG | DIL 18 | Regel- und überwachungs-IC für Schaltnetzteile | |||
| B260D | DIL 16 | Ansteuer-IC für Schaltnetzteile (mit Bipolar-Endstufe) | PDF: 432K | TDA1060 | |
| B2761D | DIL 8 | 2761 | OPV mit offenem Kollektor | PDF: 499K | TAA2761A |
| B2765D | DIL 8 | 2765 | OPV mit offenem Kollektor | PDF: 499K | TAA2765A |
| B2765S | DIL 8 | OPV mit offenem Kollektor | |||
| B2960VG | Multiwatt-15 | Schaltregler-Schaltkreis | PDF: 557K | L296 | |
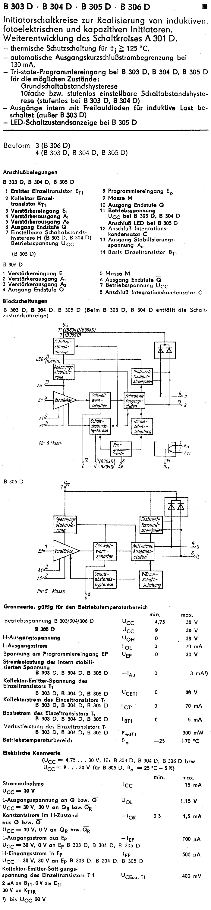
| B303D | DIL 14 | Initiatorschaltkreis für Näherungsschalter | PDF: 1,4M | (TCA205A) | |
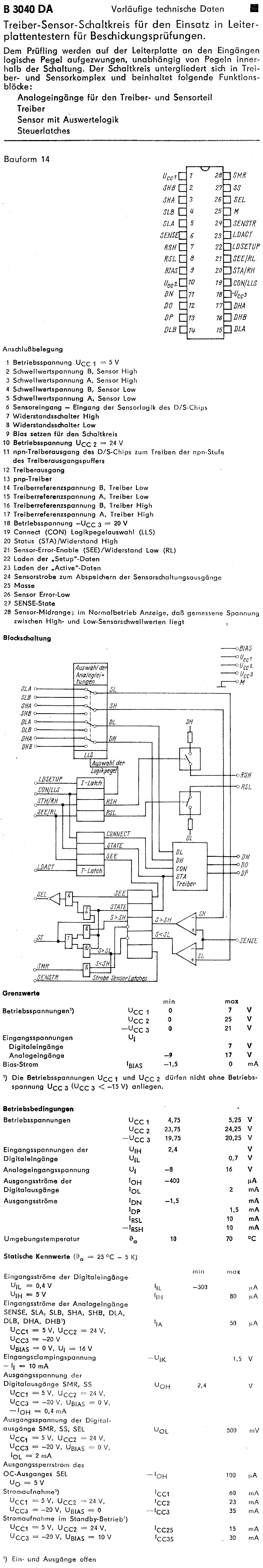
| B3040DA | DIL 28 | Treiber-Sensor für Leiterplattentester | PDF: 381K | ||
| B304D | DIL 14 | Initiatorschaltkreis für Näherungsschalter | PDF: 1,4M | (TCA205A) | |
| B305D | DIL 14 | Initiatorschaltkreis für Näherungsschalter | PDF: 1,4M | (TCA205A) | |
| B306D | DIL 8 | 306 | Initiatorschaltkreis für Näherungsschalter | PDF: 1,4M | (TCA205A) |
| B308D | DIL 14 | NF-Verstärker für Telefonhörer | PDF: 242K | TAA970 | |
| B315D | DIL 14 | Leistungs-Array | Q2T2222 | ||
| B315E | DIL 12 | Leistungs-Array | Q2T2222 | ||
| B315K | DIL 12 | Leistungs-Array | Q2T2222 | ||
| B3170V | TO 220-3 | Positiv-Spannungsregler, einstellbar | PDF: 1,4M | LM317T | |
| B3171V | TO 220-3 | Positiv-Spannungsregler, einstellbar | PDF: 1,4M | LM317HV | |
| B318D | DIL 14 | NF-Verstärker für Telefonhörer | PDF: 242K | (TBA830) | |
| B325D | DIL 14 | Leistungs-Array | Q2T2222 | ||
| Typ | Bauform | Aufdruck | Beschreibung | Datenblatt | Vergleichstyp |
| B325E | DIL 12 | Leistungs-Array | Q2T2222 | ||
| B325K | DIL 12 | Leistungs-Array | Q2T2222 | ||
| B331G | DIL 14 | Hörhilfe-Verstärker mit Dynamikkompression | PDF: 67K | WC501G | |
| B3370V | TO 220-3 | Negativ-Spannungsregler, einstellbar | PDF: 1,4M | LM337T | |
| B3371V | TO 220-3 | Negativ-Spannungsregler, einstellbar | PDF: 1,4M | LM337HV | |
| B340D | DIL 14 | Kleinleistungs-Array | PDF: 106K | ||
| B340S | SO 14 | 340 / B34* | Kleinleistungs-Array | ||
| B341D | DIL 14 | Kleinleistungs-Array | PDF: 106K | ||
| B341D | DIL 14 | Kleinleistungs-Array | |||
| B342D | DIL 14 | Kleinleistungs-Array | PDF: 106K | ||
| B342D | DIL 14 | Kleinleistungs-Array | |||
| B360D | DIL 14 | Leistungs-Array | TPQ2222 | ||
| B360E | DIL 12 | Leistungs-Array | TPQ2222 | ||
| B360K | DIL 12 | Leistungs-Array | TPQ2222 | ||
| B3718VC | Multiwatt-15 | Schrittmotor-Treiberschaltkreis | TEA3718 | ||
| B380D | DIL 14 | Leistungs-Array | TPQ2221 | ||
| B380E | DIL 12 | Leistungs-Array | TPQ2221 | ||
| B380K | DIL 12 | Leistungs-Array | TPQ2221 | ||
| B384D | DIL 20 | Spannungsversorgung (Telefon) | |||
| B385D | DIL 16 | Testschaltung (Telefon) | |||
| B386D | DIL 20 | Speiseschaltung (Telefon) | |||
| B3870D | DIL 28 | Analogprozessor für Teilnehmeranschluss (Telefon) | |||
| B390D | DIL 18 | Regler für Gleichstromkleinstmotoren | |||
| B391D | DIL 18 | Motorprozessor für Kassettenlaufwerke | PDF: 437K | ||
| B3925DD | DIL 20 | Motorprozessor für Diskettenlaufwerke | |||
| Typ | Bauform | Aufdruck | Beschreibung | Datenblatt | Vergleichstyp |
| B40/35-20 | Metall | Si-Einphasen-Gleichrichterbrücke 40V 20A | PDF: 520K | ||
| B4002D | DIL 16 | Schnittstelle Logik zu Leistung | PDF: 641K | UAA4002DP | |
| B411DD | DIL 8 | Präzisions-BiFET-OPV | LF411 | ||
| B4206D | DIL 16 | Drehzahlregelung, stromgeführt | PDF: 858K | ||
| B4207D | DIL 18 | Drehzahlregelung, tachogeführt | PDF: 1,1M | ||
| B4211D | DIL 18 | Drehzahlregelung, tachogeführt, Phasenanschnitt | U211 | ||
| B451G | SIL 4 | Magnetoresistive (Näherungs-)Schalter | PDF: 306K | SAS251 | |
| B452G | SIL 4 | Magnetoresistive (Näherungs-)Schalter | PDF: 306K | SAS251S4 | |
| B453G | SIL 4 | Magnetoresistive (Näherungs-)Schalter | PDF: 306K | SAS251S5 | |
| B460G | SIL 4 | Hall-Sensor mit analogem Ausgang | PDF: 270K | ||
| B461G | SIL 4 | B61 | Hall-(Näherungs-)Schalter | PDF: 986K | SAS261S4 |
| B462G | SIL 4 | B62 | Hall-(Näherungs-)Schalter | PDF: 986K | SAS261 |
| B466GA | SIL 4 | Hall-IS für Kfz-Zündanlagen | PDF: 325K | ||
| B467G | SIL 4 | Linearer Hall-Sensor | |||
| B4761D | DIL 14 | OPV mit offenem Kollektor | PDF: 499K | TAA4761A | |
| B4765D | DIL 14 | OPV mit offenem Kollektor | PDF: 499K | TAA4765A | |
| B511N | TO 92-2 | Temperatursensor 1 µA/K | PDF: 111K | (AD590) | |
| B555D | DIL 8 | Zeitgeber mit 200-mA-Ausgang | PDF: 222K | LM555CN | |
| B556D | DIL 14 | Zeitgeber mit 200-mA-Ausgang (2-fach) | PDF: 222K | LM556CN | |
| B589N | TO 92-2 | Referenzspannungsquelle 1,235 V | PDF: 116K | AD589 | |
| B611D | DIL 6 | 611 | OPV mit offenem Kollektor | PDF: 499K | TCA311A |
| B615D | DIL 6 | 615 | OPV mit offenem Kollektor | PDF: 499K | TCA315A |
| B621D | DIL 6 | 621 | OPV mit offenem Kollektor | PDF: 499K | TCA321A |
| B625D | DIL 6 | 625 | OPV mit offenem Kollektor | PDF: 499K | TCA325A |
| B631D | DIL 6 | 631 | OPV mit offenem Kollektor | PDF: 499K | TCA331A |
| Typ | Bauform | Aufdruck | Beschreibung | Datenblatt | Vergleichstyp |
| B635D | DIL 6 | 635 | OPV mit offenem Kollektor | PDF: 499K | TCA335A |
| B654D | DIL 14 | Servomotor-Steuerschaltkreis mit Brückenschaltung | PDF: 94K | SN28654 | |
| B721D | DIL 18 | 4-fach schaltbare Präzisionsstromquelle | PDF: 256K | ||
| B761D | DIL 6 | 761 | OPV mit offenem Kollektor | PDF: 499K | TAA761A |
| B765D | DIL 6 | 765 | OPV mit offenem Kollektor | PDF: 499K | TAA765A |
| B80/70-20 | Metall | Si-Einphasen-Gleichrichterbrücke 80V 20A | PDF: 520K | ||
| B861D | DIL 6 | 861 | OPV mit offenem Kollektor | PDF: 499K | TAA861A |
| B865D | DIL 6 | 865 | OPV mit offenem Kollektor | PDF: 499K | TAA865A |
| BSY34 | TO-39 | Si NPN 40V 0,6A 2,6W | BSY34 | ||
| C500D | DIL 20 | Analog-Teil eines 2-Flanken-Umsetzers | PDF: 903K | TL500 | |
| C501D | DIL 20 | Analog-Teil eines 2-Flanken-Umsetzers | PDF: 903K | TL501 | |
| C502D | DIL 20 | Digital-Teil des 2-Flanken-Umsetzers mit Siebensegmentausg. | PDF: 903K | TL502 | |
| C504D | DIL 28 | Digital-Teil des 2-Flanken-Umsetzers mit BCD-Ausgang | PDF: 876K | ||
| C520D | DIL 16 | A/D-Umsetzer -2..+3 Stellen mit BCD-Ausgang | PDF: 171K | AD2020 | |
| C560C | DIL 16 | 8-bit-D/A-Wandler mit Latch | PDF: 264K | AD558 | |
| C5650C | DIL 24 | 10-bit-D/A-Wandler ohne Latch | PDF: 550K | ||
| C5658C | DIL 24 | 8-bit-D/A-Wandler ohne Latch | PDF: 530K | ||
| C565C | DIL 24 | 12-bit-D/A-Wandler ohne Latch | PDF: 550K | AD565 | |
| C570C | DIL 18 | 8-bit-A/D-Wandler ohne Tristate | PDF: 768K | AD570 | |
| C571C | DIL 18 | 10-bit-A/D-Wandler ohne Tristate | PDF: 768K | AD571 | |
| C574C | DIL 28 | 12-bit-A/D-Wandler mit 8-bit-Businterface | PDF: 535K | AD574JD | |
| C670C | DIL 18 | 8-bit-A/D-Wandler mit Tristate | PDF: 327K | AD673JD | |
| C7136D | DIL 40 | 3½stelliger A/D-Umsetzer für LCD-Ansteuerung | PDF: 602K | ICL7136 | |
| CM8001 | DIL 16 | RAM 256 x 1 | PDF: 181K | ||
| D1... | Standard-TTL-Logik | SN74... | |||
| Typ | Bauform | Aufdruck | Beschreibung | Datenblatt | Vergleichstyp |
| D122 | Zweikanal-Leseverstärker | PDF: 274K | SN7522 | ||
| D123 | Zweikanal-Leseverstärker | PDF: 274K | SN7522 | ||
| D2... | High-Speed-TTL-Logik | SN74H... | |||
| D345 | DIL 16 | BCD zu 7-Segment-Dekoder | PDF: 399K | ||
| D346 | DIL 16 | BCD zu 7-Segment-Dekoder | PDF: 399K | ||
| D347 | DIL 16 | BCD zu 7-Segment-Dekoder | PDF: 399K | ||
| D348 | DIL 16 | BCD zu 7-Segment-Dekoder | PDF: 399K | ||
| D351 | DIL 14 | Teiler-IC | PDF: 214K | ||
| D355 | DIL 18 | Zeitgeber-IC | PDF: 546K | ||
| D356 | DIL 18 | Zeitgeber-IC | PDF: 546K | ||
| D394 | DIL 18 | Brückentreiber-IC | PDF: 263K | ||
| D395 | DIL 18 | Ansteuer-IC für Schrittmotoren | PDF: 141K | ||
| D410 | DIL 14 | LSL-Treiber-IC | PDF: 1M | SAA1029 | |
| D461 | DIL 14 | Pegelwandler | PDF: 605K | SN75361 | |
| D4803 | DIL 18 | 8-fach-Treiber | PDF: 389K | ULN2803 | |
| D4813 | DIL 18 | 8-fach-Treiber | ULN2813 | ||
| D4823 | DIL 18 | 8-fach-Treiber | ULN2823 | ||
| D491 | DIL 14 | 4 Segmenttreiber | PDF: 91K | ||
| D492 | DIL 14 | 6 Digittreiber | PDF: 144K | SN75492 | |
| D4981 | DIL 18 | 8-fach-Treiber | UDN2981 | ||
| D4983 | DIL 18 | 8-fach-Treiber | UDN2983 | ||
| D6221 | TO220-15 | 4fach-Treiber-IC | |||
| D716X | Chip 28 | Ansteuer-IC für Thermodruckköpfe | PDF: 596K | ||
| D718D | DIL 24 | 16-Segment-Treiber | PDF: 448K | UAA2022 | |
| DA4071 | Hybrid-IC 16-Bit A/D-Wandler | PDF: 572K | |||
| Typ | Bauform | Aufdruck | Beschreibung | Datenblatt | Vergleichstyp |
| DAC32 | Hybrid-IC 10/12-Bit A/D-Wandler | ||||
| DL... | Low-Power-Schottky-TTL-Logik | SN74LS... | |||
| DL2631 | DIL 16 | V.11 Sender-IC | PDF: 570K | AM26LS31 | |
| DL2632 | DIL 16 | V.11 Empfänger-IC | PDF: 570K | AM26LS32 | |
| DL75113 | DIL 16 | Leitungssender-IC | |||
| DL8121 | DIL 20 | 8-Bit-Komparator-IC | PDF: 286K | AMZ8121 | |
| DL8127 | DIL 24 | Systemtaktgenerator | PDF: 716K | AM8127 | |
| DL8136 | DIL 20 | 8-Bit-Dekoder | AMZ8136 | ||
| DL8640 | DIL 14 | Busempfänger-IC | |||
| DL8641 | DIL 16 | Busempfänger Treiber-IC | |||
| DS2510 | DIL 16 | 4 Bit Shifter-IC | |||
| DS2610 | DIL 16 | 4-fach Bus-Sende und Empfänger-IC | |||
| DS80612 | DIL 18 | Taktgenerator-IC | |||
| DS8205 | DIL 16 | 1 aus 8 Binärdekoder | PDF: 225K | I8205 | |
| DS8212 | DIL 24 | 8 Bit Bustreiber mit Speicher | PDF: 454K | I8212 | |
| DS8216 | DIL 16 | 4 Bit bidirektionaler Bustreiber | PDF: 541K | I8216 | |
| DS8282 | DIL 20 | 8 Bit Bustreiber und Speicher | PDF: 364K | I8282 | |
| DS8283 | DIL 20 | 8 Bit Bustreiber und Speicher | PDF: 364K | I8283 | |
| DS8286 | DIL 20 | 8 Bit bidirektionaler Bustreiber | PDF: 167K | I8286 | |
| DS8287 | DIL 20 | 8 Bit bidirektionaler Bustreiber | PDF: 167K | i82887 | |
| DS8601 | DIL 20 | DMA-Logik-IC | |||
| DS8609 | DIL 40 | Serien-Parallel-Wandler | |||
| DS8638 | DIL 20 | 8 Bit bidirektionaler Bustreiber | |||
| E1... | Standard-TTL-Logik | SN54... | |||
| E2... | High-Speed-TTL-Logik | SN54H... | |||
| Typ | Bauform | Aufdruck | Beschreibung | Datenblatt | Vergleichstyp |
| E310 | DIL 16 | Blinkgeberschaltung | PDF: 187K | ||
| E351 | DIL 14 | Teiler-IC | PDF: 214K | ||
| E355 | DIL 18 | Zeitgeber-IC | PDF: 546K | ||
| E356 | DIL 18 | Zeitgeber-IC | PDF: 546K | ||
| E412 | DIL 18 | LSL-Treiber | PDF: 520K | ||
| E435 | DIL 12 | LSL-Treiber | PDF: 394K | PZL135S | |
| FAR.. | Flüssigkristall-Anzeigen reflektiv | ||||
| FAR03A | 30 | 8stellig mit Wochentagen | |||
| FAR04A | 28 | 8stellig | |||
| FAR06A | 33 | 8stellig mit Exponent | |||
| FAR08A | 30 | 8stellig mit Wochentagen | |||
| FAR09A | 37 | 3½stellig mit Einheiten | |||
| FAR11A | 26 | 3¾stellig (Uhr) mit kleinen Sekunden | |||
| FAR50A | LC-Multimeterdisplay | ||||
| FAT.. | Flüssigkristall-Anzeigen transmissiv | ||||
| FAT02B | 48 | 3¾stellig (Uhr) mit kl. Sekunden und Wochentag unten | |||
| FAT07B | 26 | 3¾stellig (Uhr) | |||
| FAT12B | 48 | 3¾stellig (Uhr) mit kl. Sekunden und Wochentag oben | |||
| GA100 | DO 7 | Ge Diode 20V 20mA | PDF: 970K | AA131 | |
| GA101 | DO 7 | Ge Diode 40V 15mA | PDF: 970K | AA119 | |
| GA102 | DO 7 | Ge Diode 60V 12mA | PDF: 970K | AA134 | |
| GA103 | DO 7 | Ge Diode 80V 10mA | PDF: 970K | ||
| GA104 | DO 7 | Ge Diode 110V 10 mA | AA117 | ||
| GA105 | DO 7 | Ge Diode 20V 20 mA | AA130 | ||
| GA106 | DO 7 | Ge Diode 25V 20 mA | |||
| Typ | Bauform | Aufdruck | Beschreibung | Datenblatt | Vergleichstyp |
| GA107 | DO 7 | Ge Diode 60V 20 mA | |||
| GA108 | DO 7 | Ge Diode 80V 20 mA | |||
| GAY60 | DO 7 | Ge Diode 20V 75 mA | PDF: 138K | ||
| GAY61 | DO 7 | Ge Diode 20V 100 mA | PDF: 138K | FD4 | |
| GAY62 | DO 7 | Ge Diode 20V 100 mA | PDF: 138K | FD7 | |
| GAY63 | DO 7 | Ge Diode 40V 100 mA | PDF: 138K | ||
| GAY64 | DO 7 | Ge Diode 80V 75 mA | PDF: 138K | ||
| GAZ14 | DO 7 | Ge Diode 25V 20 mA | |||
| GAZ15 | Ge Diode 25V 20 mA | ||||
| GAZ16 | DO 7 | Ge Diode 25V 20 mA | |||
| GAZ17 | DO 7 | Ge Diode 25V 20 mA | PDF: 152K | ||
| GC100 | TO-1 | Ge PNP 10V 15 mA 30 mW | PDF: 61K | ||
| GC101 | TO-1 | Ge PNP 10V 15 mA 30 mW | PDF: 57K | ||
| GC112 | TO-1 | Ge PNP 80V 150 mA | PDF: 65K | ||
| GC115 | TO-18 | Ge PNP 20V 50 mA | |||
| GC116 | TO-1 | Ge PNP 20V 150 mA | PDF: 366K | AC116 | |
| GC117 | TO-1 | Ge PNP 20V 150 mA | PDF: 363K | AC150 | |
| GC118 | TO-1 | Ge PNP 20V 150 mA | PDF: 363K | AC160 | |
| GC120 | TO-18 | Ge PNP 20V 150 mA | |||
| GC121 | TO-1 | Ge PNP 20V 250 mA | PDF: 373K | AC123 | |
| GC122 | TO-1 | Ge PNP 33V 250 mA | PDF: 365K | AC170 | |
| GC123 | TO-1 | Ge PNP 66V 250 mA | PDF: 361K | AC170 | |
| GC301 | TO-1 | Ge PNP 32V 1A | PDF: 378K | AC131 | |
| GD100 | TO-66 | Ge PNP 20V 1,3A 2W 100kHz | PDF: 113K | ||
| GD110 | TO-66 | Ge PNP 20V 1,3A 2W 200kHz | PDF: 126K | ||
| Typ | Bauform | Aufdruck | Beschreibung | Datenblatt | Vergleichstyp |
| GD120 | TO-66 | Ge PNP 33V 1,3A 2W 200kHz | PDF: 113K | ||
| GD125 | TO-66 | Ge PNP 66V 1,3A 2W 200kHz | PDF: 126K | ||
| GD130 | TO-66 | Ge PNP 66V 1,3A 2W 200kHz | PDF: 123K | ||
| GD150 | TO-66 | Ge PNP 20V 3A 5W 200kHz | PDF: 130K | ||
| GD160 | TO-66 | Ge PNP 18V 3A 5,3W | PDF: 262K | ||
| GD170 | TO-66 | Ge PNP 30V 3A 5,3W | PDF: 262K | AD162 | |
| GD175 | TO-66 | Ge PNP 48V 3A 5,3W | PDF: 263K | AD155 | |
| GD180 | TO-66 | Ge PNP 60V 3A 5,3W | PDF: 261K | AD152 | |
| GD240 | TO-66 | Ge PNP 25V 3A 10W | PDF: 237K | ||
| GD241 | TO-66 | Ge PNP 35V 3A 10W | PDF: 252K | AD138 | |
| GD242 | TO-66 | Ge PNP 48V 3A 10W | PDF: 253K | AUY26 | |
| GD243 | TO-66 | Ge PNP 60V 3A 10W | PDF: 251K | ||
| GD244 | TO-66 | Ge PNP 70V 3A 10W | PDF: 252K | ||
| GE115 | Ge Tunneldiode 1 mA mit Lötfahnen | ||||
| GE116 | Ge Tunneldiode 1 mA | ||||
| GE117 | Ge Tunneldiode 10 mA mit Lötfahnen | ||||
| GE118 | Ge Tunneldiode 10 mA | ||||
| GE123 | Ge Tunneldiode 1 mA mit Lötfahnen | ||||
| GE124 | Ge Tunneldiode 1 mA | ||||
| GE125 | Ge Tunneldiode 10 mA mit Lötfahnen | ||||
| GE126 | Ge Tunneldiode 10 mA | ||||
| GF100 | TO-18 | Ge PNP 10V 15 mA | PDF: 57K | OC44 | |
| GF105 | TO-18 | Ge PNP 10V 15 mA | PDF: 58K | OC45 | |
| GF120 | TO-72 | Ge PNP 15V 10 mA 10 MHz | AF105 | ||
| GF121 | TO-72 | Ge PNP 15V 10 mA 25 MHz | AF136 | ||
| Typ | Bauform | Aufdruck | Beschreibung | Datenblatt | Vergleichstyp |
| GF122 | TO-72 | Ge PNP 15V 10 mA 30 MHz | AF116 | ||
| GF126 | TO-72 | Ge PNP 25V 10 mA 10 MHz | PDF: 216K | ||
| GF128 | TO-72 | Ge PNP 25V 10 mA 100 MHz | PDF: 65K | AF126 | |
| GF130 | TO-72 | Ge PNP 25V 10 mA 10 MHz | PDF: 178K | AF127 | |
| GF131 | TO-72 | Ge PNP 25V 10 mA 100 MHz | PDF: 254K | AF125 | |
| GF132 | TO-72 | Ge PNP 25V 10 mA 100 MHz | PDF: 184K | AF124 | |
| GF139 | TO-72 | Ge PNP 25V 10 mA 10 MHz | PDF: 211K | ||
| GF145 | TO-72 | Ge PNP 20V 10 mA 860 MHz | PDF: 391K | AF139 | |
| GF146 | TO-72 | Ge PNP 20V 10 mA 260 MHz | PDF: 155K | ||
| GF147 | TO-72 | Ge PNP 20V 10 mA 900 MHz | PDF: 159K | ||
| GF180 | TO-72 | Ge PNP 20V 10 mA 10 MHz | |||
| GF181 | TO-72 | Ge PNP 25V 10 mA 100 MHz | PDF: 195K | ||
| GP119 | Linse | Ge Fotodiode 20V 30 mW 70µA | |||
| GP120 | Linse | Ge Fotodiode 20V 30 mW 125µA | |||
| GP121 | Linse | Ge Fotodiode 50V 30 mW 70µA | |||
| GP122 | Linse | Ge Fotodiode 50V 30 mW 125µA | |||
| GS109 | TO-18 | Ge PNP 20V 50 mA | PDF: 83K | ||
| GS111 | TO-18 | Ge PNP 20V 200 mA 1,2µs | PDF: 68K | ||
| GS112 | TO-18 | Ge PNP 20V 200 mA 0,9µ:s | PDF: 68K | ||
| GS121 | TO-18 | Ge PNP 20V 100 mA | PDF: 143K | ||
| GS122 | TO-18 | Ge PNP 20V 100 mA | PDF: 164K | ||
| GY099 | DO 1 | Ge Gleichrichterdiode 12V 0,1A | |||
| GY100 | DO 1 | Ge Gleichrichterdiode 24V 0,1A | |||
| GY101 | DO 1 | Ge Gleichrichterdiode 40V 0,1A | |||
| GY102 | DO 1 | Ge Gleichrichterdiode 75V 0,1A | |||
| Typ | Bauform | Aufdruck | Beschreibung | Datenblatt | Vergleichstyp |
| GY103 | DO 1 | Ge Gleichrichterdiode 100V 0,1A | |||
| GY104 | DO 1 | Ge Gleichrichterdiode 150V 0,1A | |||
| GY105 | DO 1 | Ge Gleichrichterdiode 200V 0,1A | |||
| GY109 | DO | Ge Gleichrichterdiode 12V 1A | |||
| GY110 | DO | Ge Gleichrichterdiode 24V 1A | |||
| GY111 | DO | Ge Gleichrichterdiode 40V 1A | |||
| GY112 | DO | Ge Gleichrichterdiode 75V 1A | |||
| GY113 | DO | Ge Gleichrichterdiode 100V 1A | |||
| GY114 | DO | Ge Gleichrichterdiode 150V 1A | |||
| GY115 | DO | Ge Gleichrichterdiode 200V 1A | |||
| GY120 | DO | Ge Gleichrichterdiode 20V 10A | |||
| GY121 | DO | Ge Gleichrichterdiode 40V 10A | |||
| GY122 | DO | Ge Gleichrichterdiode 65V 10A | |||
| GY123 | DO | Ge Gleichrichterdiode 100V 10A | |||
| GY124 | DO | Ge Gleichrichterdiode 150V 10A | |||
| GY125 | DO | Ge Gleichrichterdiode 200V 10A | |||
| IA338D | DIL 16 | Spannungsgesteuerter Funktionsgenerator | PDF: 313K | ||
| INA30 | Hybrid-IC Instrumentenverstärker | PDF: 326K | |||
| INA52 | Hybrid-IC Instrumentenverstärker | PDF: 326K | |||
| ISA30 | Hybrid-IC Trennverstärker | ||||
| L110 | DIL 18 | CCD-Zeile 256 Pixel | PDF: 519K | CCD110 | |
| L133 | DIL 24 | CCD-Zeile 1024 Pixel | PDF: 859K | CCD133 | |
| L143C | DIL 24 | CCD-Zeile 2048 Pixel | PDF: 343K | ||
| L172C | DIL 24 | CCD-Zeile 512 Pixel | PDF: 374K | ||
| L211 | DIL 24 | CCD-Matrix 190 x 244 Pixel | |||
| Typ | Bauform | Aufdruck | Beschreibung | Datenblatt | Vergleichstyp |
| L220 | DIL 24 | CCD-Matrix 512 x 576 Pixel | |||
| LC815 | Ge-PNP 10V 50mA | ||||
| LC824 | Ge-PNP 10V 150mA | ||||
| LF871 | Ge-PNP 10V 15mA | PDF: 87K | |||
| LF880 | Ge-PNP 10V 10mA 2MHz | PDF: 87K | |||
| LF881 | Ge-PNP 10V 10mA 10MHz | PDF: 87K | |||
| MB101 | (opto) | GaAs-LED + Si-npn-Fototransistor | PDF: 70K | CNY21 | |
| MB102 | (opto) | GaAs-LED + Si-npn-Fototransistor | PDF: 319K | ||
| MB104 | DIL 6 | IR-LED + Si-npn-Fototransistor | PDF: 80K | CNY17 | |
| MB105 | DIL 6 | IR-LED + Si-npn-Fototransistor | PDF: 195K | SFH601 | |
| MB106 | (opto) | GaAs-LED + Si-npn-Fototransistor | PDF: 433K | CNY21 | |
| MB110 | DIL 6 | GaAs-LED + Si-Fotodiode | PDF: 76K | MCD2 | |
| MB111 | DIL 8 | GaAs-LED + Si-Fotodiode + TTL-Verstärker | MCL611 | ||
| MB123 | (opto) | Gabelkoppler: GaAs-LED + Si-Fototransistor | TIL138 | ||
| MB125 | (opto) | Reflexkoppler: GaAs-LED + Si-Fototransistor | SFH900 | ||
| MB126 | 3 | Reflexkoppler: GaAs-LED + Si-Fototransistor | PDF: 178K | SFH900 | |
| MB130 | DIL 6 | IR-LED + Si-npn-Fototransistor | PDF: 373K | ||
| MB131 | DIL 6 | IR-LED + Si-npn-Fototransistor | PDF: 373K | ||
| MB132 | DIL 6 | IR-LED + Si-npn-Fototransistor | PDF: 373K | SFH600 | |
| MB133 | DIL 6 | IR-LED + Si-npn-Fototransistor | PDF: 373K | CNY17 | |
| MB134 | DIL 6 | IR-LED + Si-npn-Fototransistor | PDF: 373K | CNY17 | |
| MB135 | DIL 6 | IR-LED + Si-npn-Fototransistor | PDF: 373K | SFH609 | |
| MDD16 | DO 240 | Si-Diodenmodul 100V...1600V 16A | PDF: 188K | ||
| MDD25 | DO 240 | Si-Diodenmodul 100V...1600V 25A | PDF: 188K | ||
| MDD40 | DO 240 | Si-Diodenmodul 100V...1600V 40A | PDF: 188K | ||
| Typ | Bauform | Aufdruck | Beschreibung | Datenblatt | Vergleichstyp |
| MDD63 | DO 240 | Si-Diodenmodul 100V...1600V 63A | PDF: 327K | ||
| MQE10 | (opto) | 3 x Siebensegment rot 1/2" mit A/D-Wandler | |||
| MQH200 | (opto) | Lichtemitter-Flachbandanzeige 24 LEDs grün | PDF: 259K | ||
| O4A657 | Plast | Ge Diodenquartett 40V 15 mA | |||
| OA601 | Patrone | Ge-Diode 5V 15mA 3,5 GHz | |||
| OA602 | Patrone | Ge-Diode 5V 15mA 3,5 GHz | |||
| OA603 | Patrone | Ge-Diode 10V 20mA 3,5 GHz | |||
| OA604 | Patrone | Ge-Diode 10V 20mA 3,5 GHz | |||
| OA605 | Patrone | Ge-Diode 20V 20mA 3,5 GHz | |||
| OA625 | DO 7 | Ge-Diode 20V 20mA | PDF: 970K | ||
| OA626 | DO 7 | Ge Diode 20V 20 mA | |||
| OA645 | DO 7 | Ge-Diode 40V 15mA | PDF: 970K | ||
| OA647 | DO 7 | Ge Diode 25V 20 mA | |||
| OA665 | DO 7 | Ge-Diode 60V 12mA | PDF: 970K | ||
| OA666 | DO 7 | Ge Diode 60V 20 mA | |||
| OA685 | DO 7 | Ge-Diode 80V 10mA | PDF: 970K | ||
| OA686 | DO 7 | Ge Diode 80V 20 mA | |||
| OA705 | DO 7 | Ge Diode 110V 10 mA | |||
| OA720 | Ge-Diode 20V 50mA | PDF: 138k | |||
| OA721 | Ge-Diode 20V 75mA | PDF: 138k | |||
| OA722 | DO? | Ge-Schaltdiode 20V 200mA 0,75V | |||
| OA723 | DO? | Ge-Schaltdiode 20V 200mA 0,85V | |||
| OA741 | Ge-Diode 40V 75mA | PDF: 138k | |||
| OA780 | Ge-Diode 80V 50mA | PDF: 138k | |||
| OA900 | Si-Diode 25V 100mA | ||||
| Typ | Bauform | Aufdruck | Beschreibung | Datenblatt | Vergleichstyp |
| OA901 | Si-Diode 50V 100mA | ||||
| OA902 | Si-Diode 75V 100mA | ||||
| OA903 | Si-Diode 150V 100mA | ||||
| OA904 | Si-Diode 250V 100mA | ||||
| OA905 | Si-Diode 350V 100mA | ||||
| OC810 | TO 22 | Ge-PNP-Flächentransistor 20V 15mA | PDF: 108k | ||
| OC811 | TO 22 | Ge-PNP-Flächentransistor 20V 15mA | PDF: 110k | ||
| OC812 | TO 22 | Ge-PNP-Flächentransistor 20V 15mA rauscharm | |||
| OC813 | TO 22 | Ge-PNP-Flächentransistor 20V 15mA 1Mhz | |||
| OC814 | TO 22 | Ge-PNP-Flächentransistor 20V 15mA sehr rauscharm | |||
| OC815 | TO 22 | Ge-PNP-Flächentransistor 15V 20mA | PDF: 100k | ||
| OC816 | TO 22 | Ge-PNP-Flächentransistor 15V 20mA | PDF: 102k | ||
| OC817 | TO 22 | Ge-PNP-Flächentransistor 15V 20mA rauscharm | |||
| OC818 | TO 22 | Ge-PMP-Flächentransistor 15V 20mA extrem rauscharm | |||
| OC820 | TO 22 | Ge-PMP-Flächentransistor 20V 125mA | PDF: 132k | ||
| OC821 | TO 22 | Ge-PNP-Fl%auml;chentransistor 20V 125mA | PDF: 140k | ||
| OC822 | TO 22 | Ge-PNP-Flächentransistor 30V 125mA | |||
| OC823 | TO 22 | Ge-PNP-Flächentransistor 60V 125mA | |||
| OC824 | TO-9 | Ge-PNP-Flächentransistor 20V 135mA | |||
| OC825 | TO-9 | Ge-PNP-Flächentransistor 20V 135mA | |||
| OC826 | TO-9 | Ge-PNP-Flächentransistor 20V 135mA rauscharm | |||
| OC827 | TO-9 | Ge-PNP-Flächentransistor 20V 135mA rauscharm | |||
| OC828 | TO-9 | Ge-PMP-Flächentransistor 33V 125mA | |||
| OC829 | TO-9 | Ge-PNP-Flächentransistor 66V 125mA | |||
| OC830 | TO-66 | Ge-PNP-Flächentransistor 20V 1A 1W | |||
| Typ | Bauform | Aufdruck | Beschreibung | Datenblatt | Vergleichstyp |
| OC831 | TO-66 | Ge-PNP-Flächentransistor 30V 1A 1W Verstärker | |||
| OC832 | TO-66 | Ge-PNP-Flächentransistor 30V 1A 1W Schalter | |||
| OC833 | TO-66 | Ge-PNP-Flächentransistor 60V 1A 1W Schalter | |||
| OC835 | TO-66 | Ge-PNP-Flächentransistor 20V 3A 4W | |||
| OC836 | TO-66 | Ge-PNP-Flächentransistor 20V 3A 4W | |||
| OC837 | TO-66 | Ge-PNP-Flächentransistor 30V 3A 4W Schalter | |||
| OC838 | TO-66 | Ge-PNP-Flächentransistor 60V 3A 4W Schalter | |||
| OC870 | TO-1 | Ge-PNP-Flächentransistor 10V 15mA 1MHz | |||
| OC871 | TO-1 | Ge-PNP-Flächentransistor 10V 15mA 3MHz | |||
| OC872 | TO-1 | Ge-PNP-Flächentransistor 10V 15mA 7MHz | |||
| OC881 | TO-9 | Ge-PNP-Drifttransistor 10V 10mA 15MHz | |||
| OC882 | TO-9 | Ge-PNP-Drifttransistor 10V 10mA 30MHz | |||
| OC883 | TO-9 | Ge-PNP-Drifttransistor 10V 10mA 50MHz | |||
| OC920 | TO-5 | Si PNP 10V 50mA 250mW | PDF: 409K | ||
| OC921 | TO-5 | Si PNP 33V 50mA 250mW | PDF: 409K | ||
| OC922 | TO-5 | Si PNP 66V 50mA 250mW | PDF: 409K | ||
| OC923 | TO-5 | Si PNP 10V 50mA 250mW | PDF: 409K | ||
| OY91x | DO | Si Gleichrichterdioden 50...700V 1A | |||
| S114 | DIL 10 | Uhren-IC 4,19 Mhz Bastler-Typ des U114 | PDF: 710K | ||
| S555 | DIL 24 | EPROM 512 x 8 (Anfalltyp für Bastler von U555) | PDF: 591K | ||
| SA129 | Si Kapazitätsdiode 2,2...12 pF | ||||
| SA130 | Si Kapazitätsdiode 2,2...16 pF | ||||
| SA403 | DO | rot | Si Schaltdiode 25V 30mA | ||
| SA412 | DO | gelb | Si Schaltdiode 20V 80mA | BA177 | |
| SA415 | Si Schaltdiode 50V 100mA | BA218 | |||
| Typ | Bauform | Aufdruck | Beschreibung | Datenblatt | Vergleichstyp |
| SA418 | DO | grün | Si Schaltdiode 80V 100mA | BAY61 | |
| SAL41 | 41 | Si Doppeldiode 20V 20mA Reihenschaltung Mittelabgriff | |||
| SAL43 | 43 | Si Mehrfachdiode 20V 20mA | |||
| SAL45 | 45 | Si Mehrfachdiode 20V 20mA | |||
| SAM42 | 42M. | Si Doppeldiode 20V 20mA | PDF: 80K | ||
| SAM43 | 43M. | Si Mehrfachdiode 20V 20mA | PDF: 80K | ||
| SAM44 | 44M. | Si Mehrfachdiode 20V 20mA | PDF: 80K | ||
| SAM45 | 45M. | Si Mehrfachdiode 20V 20mA | PDF: 80K | ||
| SAM62 | 62M. | Si Doppeldiode 20V 20mA | PDF: 105K | ||
| SAM63 | 63M. | Si Mehrfachdiode 20V 20mA | PDF: 105K | ||
| SAM64 | 64M. | Si Mehrfachdiode 20V 20mA | PDF: 105K | ||
| SAM65 | 65M. | Si Mehrfachdiode 20V 20mA | PDF: 105K | ||
| SAX32 | Si Doppeltdiode 25V 30mA | ||||
| SAX33 | Si Mehrfachdiode 25V 30mA | ||||
| SAX34 | Si Mehrfachdiode 25V 30mA | ||||
| SAX35 | Si Mehrfachdiode 25V 30mA | ||||
| SAX36 | Si Mehrfachdiode 25V 30mA | ||||
| SAX42 | Si Doppeldiode 15V 30mA | ||||
| SAX43 | Si Mehrfachdiode 15V 30mA | ||||
| SAX44 | Si Mehrfachdiode 15V 30mA | ||||
| SAX45 | Si Mehrfachdiode 15V 30mA | ||||
| SAX46 | Si Mehrfachdiode 15V 30mA | ||||
| SAX52 | Si Doppeldiode 25V 50mA | ||||
| SAX53 | Si Mehrfachdiode 25V 50mA | ||||
| SAX54 | Si Mehrfachdiode 25V 50mA | ||||
| Typ | Bauform | Aufdruck | Beschreibung | Datenblatt | Vergleichstyp |
| SAX55 | Si Mehrfachdiode 25V 50mA | ||||
| SAX56 | Si Mehrfachdiode 25V 50mA | ||||
| SAX62 | Si Doppeldiode 15V 30mA | ||||
| SAX63 | Si Mehrfachdiode 15V 30mA | ||||
| SAX64 | Si Mehrfachdiode 15V 30mA | ||||
| SAX65 | Si Mehrfachdiode 15V 30mA | ||||
| SAX66 | Si Mehrfachdiode 15V 30mA | ||||
| SAY10 | rt,rt,rt,rt | Si Schaltdiode 50V 175mA | PDF: 111K | ||
| SAY11 | rt,rt,rt,ge | Si Schaltdiode 50V 175mA | PDF: 111K | ||
| SAY12 | Miniplast | orange | Si Schaltdiode 50V 300mA | BAY42 | |
| SAY14 | rt,rt,rt,bl | Si Schaltdiode 25V 115mA | PDF: 121K | ||
| SAY15 | rt,rt,rt,sw | Si Schaltdiode 15V 75mA | PDF: 121K | ||
| SAY16 | Miniplst | grün | Si Schaltdiode 30V 300mA | BAY41 | |
| SAY17 | Miniplst | rot | Si Schaltdiode 50V 175mA | BA147 | |
| SAY18 | Miniplst | gelb | Si Schaltdiode 25V 115mA | BA147 | |
| SAY20 | Miniplst | blau | Si Schaltdiode 15V 75mA | BAY93 | |
| SAY30 | Miniplst | 30Y. | Si Schaltdiode 25V 30mA | PDF: 81K | BA216 |
| SAY32 | Miniplst | 32Y. | Si Schaltdiode 25V 50mA | PDF: 81K | BA217 |
| SAY40 | Miniplst | 40Y. | Si Schaltdiode 15V 20mA | PDF: 81K | BA116 |
| SAY42 | Miniplst | 42Y. | Si Schaltdiode 15V 30mA | PDF: 81K | BAY52 |
| SAY50 | Miniplst | Si Doppeldiode 25V 30mA | PDF: 50K | ||
| SAY52 | Miniplst | Si Doppeldiode 25V 50mA | PDF: 60K | ||
| SAY60 | Miniplst | Si Doppeldiode 15V 20mA | |||
| SAY62 | Miniplst | Si Doppeldiode 15V 30mA | |||
| SAY73 | Miniplast | weiß | Si Schaltdiode 50V 300mA | BAY42 | |
| Typ | Bauform | Aufdruck | Beschreibung | Datenblatt | Vergleichstyp |
| SAZ12 | Si Diode 18V 300mW 10Ghz | ||||
| SAZ13 | Si Diode 18V 300mW 20Ghz | ||||
| SAZ54 | Si Varaktordiode 90V 6W | PDF: 66K | |||
| SAZ61 | Si Varaktordiode 60V 1,5W | PDF: 56K | |||
| SAZ71 | Si Varaktordiode 30V 1W | PDF: 41K | |||
| SC116 | TO 18 | Si PNP 20V 0,1A 0,3W | |||
| SC117 | TO 18 | Si PNP 30V 0,1A 0,3W | |||
| SC118 | TO 18 | Si PNP 60V 0,1A 0,3W | |||
| SC119 | TO 18 | Si PNP 80V 0,1A 0,3W | |||
| SC206 | Miniplast | rt,hellbl, | Si NPN 20V 0,1A 0,2W | PDF: 127K | BC148 |
| SC207 | Miniplast | rt,ge, | Si NPN 20V 0,1A 0,2W | PDF: 127K | BC149 |
| SC236 | Miniplast | C36 | Si NPN 20V 0,1A 0,2W | PDF: 137K | |
| SC237 | Miniplast | C37 | Si NPN 45V 0,1A 0,2W | PDF: 137K | BC237 |
| SC238 | Miniplast | C38 | Si NPN 20V 0,1A 0,2W | PDF: 137K | BC238 |
| SC239 | Miniplast | C39 | Si NPN 80V 0,1A 0,2W | PDF: 137K | BC239 |
| SC307 | Miniplast | 307 | Si PNP 45V 0,1A 0,2W | PDF: 106K | BC307 |
| SC308 | Miniplast | 308 | Si PNP 20V 0,1A 0,2W | PDF: 106K | BC308 |
| SC309 | Miniplast | 309 | Si PNP 80V 0,1A 0,2W | PDF: 106K | BC309 |
| SCE237 | SOT 23 | B[D/E] | Si NPN 45V 0,1A 0,2W | PDF: 539K | BC847 |
| SCE238 | SOT 23 | C[D/E] | Si NPN 20V 0,1A 0,2W | PDF: 539K | BC848 |
| SCE239 | SOT 23 | D[D/E/F] | Si NPN 80V 0,1A 0,2W | PDF: 539K | BC849 |
| SCE307 | SOT 23 | N[C/D/E] | Si PNP 45V 0,1A 0,2W | PDF: 717K | BC857 |
| SCE308 | SOT 23 | O[C/D/E] | Si PNP 20V 0,1A 0,2W | PDF: 717K | BC858 |
| SCE309 | SOT 23 | P[C/D/E] | Si PNP 80V 0,1A 0,2W | PDF: 717K | BC859 |
| SCE535 | SOT 89 | B[A/B/C/D] | Si NPN 45V 1A 0,8W | BCX54 | |
| Typ | Bauform | Aufdruck | Beschreibung | Datenblatt | Vergleichstyp |
| SCE536 | SOT 89 | A[A/B/C/D] | Si PNP 45V 1A 0,8W | BCX51 | |
| SCE537 | SOT 89 | B[E/F/G/M] | Si NPN 60V 1A 0,8W | BCX55 | |
| SCE538 | SOT 89 | A[E/F/G/M] | Si PNP 60V 1A 0,8W | BCX52 | |
| SCE539 | SOT 89 | B[H/I/K/L] | Si NPN 80V 1A 0,8W | BCX56 | |
| SCE540 | SOT 89 | A[H/I/K/L] | Si PNP 80V 1A 0,8W | BCX53 | |
| SD168 | TO 3 | Si NPN 300V 3A 12,5W | PDF: 49K | ||
| SD335 | TO 126 | Si NPN 45V 1,5A 12,5W | PDF: 247K | BD135 | |
| SD336 | TO 126 | Si PNP 45V 1,5A 12,5W | PDF: 88K | BD136 | |
| SD337 | TO 126 | Si NPN 60V 1,5A 12,5W | PDF: 247K | BD137 | |
| SD338 | TO 126 | Si PNP 60V 1,5A 12,5W | PDF: 88K | BD138 | |
| SD339 | TO 126 | Si NPN 80V 1,5A 12,5W | PDF: 247K | BD139 | |
| SD340 | TO 126 | Si PNP 80V 1,5A 12,5W | PDF: 88K | BD140 | |
| SD345 | TO 126 | Si NPN 45V 3A 20W | PDF: 161K | BD233 | |
| SD346 | TO 126 | Si PNP 45V 3A 20W | PDF: 231K | BD234 | |
| SD347 | TO 126 | Si NPN 60V 3A 20W | PDF: 161K | BD235 | |
| SD348 | TO 126 | Si PNP 60V 3A 20W | PDF: 231K | BD236 | |
| SD349 | TO 126 | Si NPN 80V 3A 20W | PDF: 161K | BD237 | |
| SD350 | TO 126 | Si PNP 80V 3A 20W | PDF: 231K | BD238 | |
| SD401 | TO 220 | Si NPN 45V 10A 90W | |||
| SD402 | TO 220 | Si PNP 45V 10A 90W | |||
| SD403 | TO 220 | Si NPN 60V 10A 90W | |||
| SD404 | TO 220 | Si PNP 60V 10A 90W | |||
| SD405 | TO 220 | Si NPN 80V 10A 90W | |||
| SD406 | TO 220 | Si PNP 80V 10A 90W | |||
| SD407 | TO 220 | Si NPN 100V 10A 90W | |||
| Typ | Bauform | Aufdruck | Beschreibung | Datenblatt | Vergleichstyp |
| SD408 | TO 220 | Si PNP 100V 10A 90W | |||
| SD409 | TO 220 | Si NPN 120V 10A 90W | |||
| SD410 | TO 220 | Si PNP 120V 10A 90W | |||
| SD451 | TO 220 | Si NPN Darlington 45V 10A 90W | BDT63 | ||
| SD452 | TO 220 | Si PNP Darlington 45V 10A 90W | BDT62 | ||
| SD453 | TO 220 | Si NPN Darlington 60V 10A 90W | |||
| SD454 | TO 220 | Si PNP Darlington 60V 10A 90W | |||
| SD455 | TO 220 | Si NPN Darlington 80V 10A 90W | |||
| SD456 | TO 220 | Si PNP Darlington 80V 10A 90W | |||
| SD457 | TO 220 | Si NPN Darlington 100V 10A 90W | |||
| SD458 | TO 220 | Si PNP Darlington 100V 10A 90W | |||
| SD459 | TO 220 | Si NPN Darlington 120V 10A 90W | |||
| SD460 | TO 220 | Si PNP Darlington 120V 10A 90W | |||
| SD600 | TO 3 | Si NPN 80V 3A 10W | |||
| SD601 | TO 3 | Si NPN 50V 3A 10W | |||
| SD602 | TO 3 | Si NPN 80V 3A 10W | |||
| SD802 | TO 3 | Si NPN 100V 5A 50W | |||
| SD812 | TO 3 | Si NPN 200V 4A 50W | PDF: 155K | ||
| SF016 | TO-5 | Si PNP 45V 0,6A 0,6W | |||
| SF018 | TO-5 | Si PNP 45V 0,6A 0,6W | |||
| SF021 | TO-5 | Si PNP 20V 0,5A 0,6W | PDF: 104K | ||
| SF022 | TO-5 | Si PNP 33V 0,5A 0,6W | PDF: 100K | ||
| SF023 | TO-5 | Si PNP 66V 0,5A 0,6W | PDF: 105K | ||
| SF024 | TO-5 | Si PNP 100V 0,5A 0,6W | PDF: 102K | ||
| SF025 | TO-5 | Si PNP 120V 0,5A 0,6W | PDF: 109K | ||
| Typ | Bauform | Aufdruck | Beschreibung | Datenblatt | Vergleichstyp |
| SF111 | TO-5 | Si NPN 20V 0,2A 0,4W | |||
| SF112 | TO-5 | Si NPN 30V 0,1A 0,6W | |||
| SF113 | TO-5 | Si NPN 60V 0,1A 0,6W | |||
| SF114 | TO-5 | Si NPN 100V 0,1A 0,6W | |||
| SF116 | TO-5 | Si PNP 20V 0,1A 0,6W | |||
| SF117 | TO-5 | Si PNP 30V 0,1A 0,6W | |||
| SF118 | TO-5 | Si PNP 60V 0,1A 0,6W | |||
| SF119 | TO-5 | Si PNP 80V 0,1A 0,6W | |||
| SF121 | TO-5 | Si NPN 20V 0,1A 0,6W | PDF: 125K | ||
| SF122 | TO-5 | Si NPN 33V 0,1A 0,6W | PDF: 125K | BSY91 | |
| SF123 | TO-5 | Si NPN 66V 0,1A 0,6W | PDF: 125K | BSY92 | |
| SF126 | TO-5 | Si NPN 20V 0,1A 0,6W | PDF: 154K | BSY51 | |
| SF127 | TO-5 | Si NPN 30V 0,1A 0,6W | PDF: 154K | BSY53 | |
| SF128 | TO-5 | Si NPN 60V 0,1A 0,6W | PDF: 154K | BSY55 | |
| SF129 | TO-5 | Si NPN 80V 0,1A 0,6W | BSY55 | ||
| SF131 | TO 18 | Si NPN 20V 0,05A 0,3W | PDF: 221K | BF184 | |
| SF132 | TO 18 | Si NPN 40V 0,05A 0,3W | PDF: 221K | BF115 | |
| SF136 | TO 18 | Si NPN 20V 0,2A 0,3W | PDF: 237K | 2N708 | |
| SF137 | TO 18 | Si NPN 12V 0,2A 0,3W | PDF: 237K | BFY39 | |
| SF150 | TO-5 | Si NPN 160V 0,05A 0,6W | |||
| SF215 | Miniplast | F15 / ws | Si NPN 20V 0,1A 0,2W | PDF: 146K | BF254 |
| SF216 | Miniplast | F16 / hellbl | Si NPN 40V 0,1A 0,2W | PDF: 146K | BF241 |
| SF225 | Miniplast | F25 | Si NPN 25V 0,025A 0,2W | PDF: 551K | BF241 |
| SF235 | Miniplast | F35 | Si NPN 25V 0,025A 0,2W | PDF: 204K | BF255 |
| SF240 | Miniplast | F40 | Si NPN 30V 0,025A 0,2W | PDF: 238K | BF196 |
| Typ | Bauform | Aufdruck | Beschreibung | Datenblatt | Vergleichstyp |
| SF245 | Miniplast | F45 | Si NPN 25V 0,025A 0,2W | PDF: 133K | BF199 |
| SF357 | TO 126 | Si NPN 160V 0,1A 6W | PDF: 115K | BF457 | |
| SF358 | TO 126 | Si NPN 250V 0,1A 6W | PDF: 115K | BF458 | |
| SF359 | TO 126 | Si NPN 300V 0,1A 6W | PDF: 115K | BF459 | |
| SF369 | TO 126 | Si NPN 250V 0,03A 1,2W | PDF: 54K | BF469 | |
| SF816 | TO 92 | Si PNP 20V 0,5A 0,735W | |||
| SF817 | TO 92 | Si PNP 30V 0,5A 0,735W | |||
| SF818 | TO 92 | Si PNP 60V 0,5A 0,735W | |||
| SF819 | TO 92 | Si PNP 80V 0,5A 0,735W | |||
| SF826 | TO 92 | Si NPN 20V 0,5A 0,735W | |||
| SF827 | TO 92 | Si NPN 30V 0,5A 0,735W | |||
| SF828 | TO 92 | Si NPN 60V 0,5A 0,735W | |||
| SF829 | TO 92 | Si NPN 80V 0,5A 0,735W | |||
| SFE225 | SO T23 | HO | Si NPN 25V 0,025A 0,2W | PDF: 104K | |
| SFE235 | SOT 23 | IO | Si NPN 25V 0,025A 0,2W | PDF: 169K | BF255 |
| SFE245 | SOT 23 | LO | Si NPN 25V 0,025A 0,2W | PDF: 182K | BFS20 |
| SFE250 | SOT 23 | Si NPN 5V 50mW | |||
| SFE292 | SOT 23 | Si NPN 15V 200mW | |||
| SFE517 | SOT 89 | Si NPN 25V 150mA 1W | |||
| SFE569 | SOT 89 | Si NPN 250V 50mA 1W | |||
| SFE570 | SOT 89 | Si PNP 250V 50mA 1W | |||
| SM103 | Miniplast | 03M | N-FET 20V 15mA 150mW 3...12mA | PDF: 117K | |
| SM104 | Miniplast | 04M | N-FET 20V 15mA 150mW 1,5...6,5mA | PDF: 117K | |
| SM200 | SOT 103 | Dual-Gate-Mosfet | SD306 | ||
| SME992 | SOT 23 | N-Kanal MOSFET Tetrode für UKW | |||
| Typ | Bauform | Aufdruck | Beschreibung | Datenblatt | Vergleichstyp |
| SME994 | SOT 23 | N-Kanal MOSFET Tetrode für VHF | |||
| SME996 | SOT 23 | N-Kanal MOSFET Tetrode für UHF | |||
| SMY50 | DIL 4 | MY50 | P-Mosfet | PDF: 79K | MEM511 |
| SMY51 | DIL 6 | MY51 | P-Mosfet dual | PDF: 79K | MEM550C |
| SMY52 | DIL 4 | MY52 | P-Mosfet | PDF: 48K | MEM517 |
| SMY60 | DIL 10 | P-Mosfet dual | MEM551 | ||
| SP101 | TO-5 | Schnelle Fotodiode | (BPX61) | ||
| SP102 | TO-5 | Schnelle Fotodiode | (BPX65) | ||
| SP103 | TO-5 | Schnelle Fotodiode | (BPX63) | ||
| SP104 | (opto) | Lawinenfotodiode mit LWL und Stecker | PDF: 57K | BPW28 | |
| SP105 | (opto) | Belichtungsmesser | PDF: 520K | BPW21 | |
| SP106 | (opto) | pin-Diode | PDF: 371K | BPW34 | |
| SP107 | (opto) | pin-Diode im Buchsengehäuse | PDF: 222K | ||
| SP109 | (opto) | pin-Diode im LWL-Anschlussgehäuse | PDF: 44K | ||
| SP114 | TO-5 | Lawinenfotodiode | PDF: 237K | (BPW28) | |
| SP116 | (opto) | Differenzfotodiode | PDF: 371K | BPX48 | |
| SP117 | (opto) | Quadrantenfotodiode | PDF: 371K | SFH204 | |
| SP119 | (opto) | Vollflächenfotodiode | PDF: 254K | ||
| SP121 | (opto) | Streifenfotodiode | PDF: 254K | ||
| SP123 | (opto) | Kreis-Kreisringfotodiode | PDF: 371K | ||
| SP124 | (opto) | Kreis-Kreisringfotodiode | PDF: 371K | ||
| SP201 | (opto) | Fototransistor 4mm | PDF: 78K | TIL78 | |
| SP211 | (opto) | Fototransistor (In-Loch-Montage) | PDF: 82K | LS611 | |
| SP212 | (opto) | Fototransistor 2 mm Mini | BPX81 | ||
| SP213 | (opto) | Fototransistor 3 mm rund | PDF: 230K | SFH309 | |
| Typ | Bauform | Aufdruck | Beschreibung | Datenblatt | Vergleichstyp |
| SP215 | (opto) | Fototransistor 5 mm rund | BP103 | ||
| SS106 | TO-5 | Si NPN 15V 0,2A 0,3W | PDF: 136K | ||
| SS108 | TO-5 | Si NPN 15V 0,2A 0,3W | PDF: 141K | ||
| SS109 | TO-5 | Si NPN 15V 0,2A 0,3W | PDF: 171K | ||
| SS120 | TO-5 | Si NPN 40V 0,5A 0,7W | PDF: 76K | ||
| SS125 | TO-5 | Si NPN 25V 0,5A 0,6W | PDF: 109K | ||
| SS126 | TO-5 | Si NPN 50V 0,5A 0,6W | PDF: 111K | ||
| SS200 | Miniplast | S00 | Si NPN 70V 0,03A 0,15W | PDF: 78K | |
| SS201 | Miniplast | S01 | Si NPN 100V 0,03A 0,15W | PDF: 78K | BF177 |
| SS202 | Miniplast | S02 | Si NPN 120V 0,03A 0,15W | PDF: 78K | BF178 |
| SS216 | Miniplast | S16 | Si NPN 15V 0,1A 0,2W | PDF: 149K | |
| SS218 | Miniplast | S18 | Si NPN 15V 0,1A 0,2W | PDF: 149K | |
| SS219 | Miniplast | S19 | Si NPN 15V 0,1A 0,2W | PDF: 149K | |
| SSE200 | SOT 23 | WG | Si NPN 70V 0,03A 0,15W | PDF: 239K | |
| SSE201 | SOT 23 | WI | Si NPN 100V 0,03A 0,15W | PDF: 239K | |
| SSE202 | SOT 23 | WK | Si NPN 120V 0,03A 0,15W | PDF: 239K | |
| SSE216 | SOT 23 | F[C/D] | Si NPN 15V 0,1A 0,2W | PDF: 210K | |
| SSE219 | SOT 23 | G[C/D] | Si NPN 15V 0,1A 0,2W | PDF: 210K | (BSV52) |
| SSE550 | SOT 89 | Si NPN 45V 0,5A 1W | |||
| SSE551 | SOT 89 | Si NPN 60V 0,5A 1W | |||
| SSE552 | SOT 89 | Si NPN 80V 0,5A 1W | |||
| SSE560 | SOT 89 | Si PNP 45V 0,5A 1W | |||
| SSE561 | SOT 89 | Si PNP 60V 0,5A 1W | |||
| SSE562 | SOT 89 | Si PNP 80V 0,5A 1W | |||
| SSY20 | TO-39 | Si NPN 40V 0,6A 0,7W | BSY34 | ||
| Typ | Bauform | Aufdruck | Beschreibung | Datenblatt | Vergleichstyp |
| ST103 | TO 220 | Thyristor 3A 20mA | PDF: 62K | ||
| ST108 | DO 208 | Thyristor 6A 150mA | |||
| ST111 | M8 SW17 | Thyristor 25A 100mA | |||
| ST121 | M8 SW17 | Thyristor 40A 100mA | |||
| SU111 | TO 3 | Si NPN 400V 10A 120W | PDF: 575K | BU921 | |
| SU160 | TO 3 | Si NPN 700V 5A 12,5W | BU208 | ||
| SU161 | TO 3 | Si NPN 700V 2,5A 10W | BU205 | ||
| SU165 | TO 3 | Si NPN 350V 2,5A 10W | BU126 | ||
| SU167 | TO 3 | Si NPN 325V 10A 100W | PDF: 443K | BU326 | |
| SU169 | TO 3 | Si NPN 400V 10A 100W | PDF: 443K | BUY69A | |
| SU177 | TO 3 | Si NPN 400V 4A 50W | BUX46 | ||
| SU178 | TO 3 | Si NPN 400V 6A 60W | PDF: 300K | BUX82 | |
| SU179 | TO 3 | Si NPN 450V 6A 60W | PDF: 300K | BUX83 | |
| SU180 | TO 3 | Si NPN 400V 4A 50W | BU204 | ||
| SU186 | TO 3 | Si NPN 125V 15A 150W | PDF: 284K | 2N3055 | |
| SU187 | TO 3 | Si NPN 200V 15A 150W | PDF: 575K | BUX41 | |
| SU188 | TO 3 | Si NPN 250V 20A 150W | PDF: 575K | BUX42 | |
| SU189 | TO 3 | Si NPN 400V 15A 175W | PDF: 575K | BUX48 | |
| SU190 | TO 3 | Si NPN 450V 15A 175W | PDF: 575K | BUX48A | |
| SU191 | TO 3 | Si NPN 125V 20A | PDF: 322K | ||
| SU192 | TO 3 | Si NPN 250V 15A | PDF: 322K | ||
| SU193 | TO 3 | Si NPN 250V 15A | PDF: 322K | ||
| SU310 | TO 218 | Si NPN Darlington 350V 12A 125W | |||
| SU311 | TO 218 | Si NPN Darlington 400V 12A 125W | PDF: 342K | ||
| SU312 | TO 218 | Si NPN Darlington 400V 12A 125W | |||
| Typ | Bauform | Aufdruck | Beschreibung | Datenblatt | Vergleichstyp |
| SU377 | TO 220 | Si NPN 300V 6A 85W | PDF: 575K | MJE13004 | |
| SU378 | TO 220 | Si NPN 400V 6A 85W | PDF: 252K | MJE13005 | |
| SU379 | TO 220 | Si NPN 400V 6A 85W | PDF: 575K | BUX84 | |
| SU380 | TO 220 | Si NPN 400V 6A 85W | PDF: 252K | BUT11 | |
| SU382 | TO 218 | Si NPN 400V 9A 125W | |||
| SU383 | TO 218 | Si NPN 450V 9A 125W | |||
| SU384 | TO 218 | Si NPN 450V 9A 125W | |||
| SU386 | TO 218 | Si NPN 125V 5A 150W | PDF: 371K | ||
| SU387 | TO 218 | Si NPN 200V 8A 150W | PDF: 371K | ||
| SU388 | TO 218 | Si NPN 250V 10A 150W | PDF: 371K | ||
| SU389 | TO 218 | Si NPN 400V 10A 150W | PDF: 325K | ||
| SU390 | TO 218 | Si NPN 450V 8A 150W | PDF: 325K | ||
| SU391 | TO 218 | Si NPN 125V 20A 150W | |||
| SU392 | TO 218 | Si NPN 160V 15A 150W | |||
| SU393 | TO 218 | Si NPN 300V 10A 150W | |||
| SU508 | TO 240 | Si NPN 600V 30A 250W | PDF: 416K | ||
| SU509 | TO 240 | Si NPN 700V 30A 250W | PDF: 416K | ||
| SU510 | TO 240 | Si NPN 800V 30A 250W | PDF: 416K | ||
| SU518 | TO 240 | Si NPN 400V 50A 400W | |||
| SU519 | TO 240 | Si NPN 700V 50A 400W | |||
| SU520 | TO 240 | Si NPN 800V 50A 400W | |||
| SY170 | DO 208 | Si Gleichrichterdiode 100V...700V 25A | SSiE12 | ||
| SY171 | DO 208 | Si Gleichrichterdiode 100V...700V 25A | SSiE11 | ||
| SY180 | M8 SW14 | Si Gleichrichterdiode 100V...1400V 30A | DS17 | ||
| SY180..A | M8 SW14 | Si Avalanche-Diode 100V...1400V 30A | DS17 | ||
| Typ | Bauform | Aufdruck | Beschreibung | Datenblatt | Vergleichstyp |
| SY185 | M8 | Si Gleichrichterdiode 50V...600V bis 25A | PDF: 82K | DSDI17 | |
| SY191 | M5 | Si Gleichrichterdiode 100V...1600V 20A | PDF: 506K | ||
| SY192 | M6 | Si Gleichrichterdiode 100V...1600V 45A | PDF: 386K | ||
| SY196 | M6 | Si Gleichrichterdiode 100V...1000V 15A | PDF: 506K | ||
| SY197 | M6 | Si Gleichrichterdiode 100V...1000V 25A | PDF: 386K | ||
| SY2.. | Metall | Si Gleichrichterdiode 75V...1000V 1A | BYY3x | ||
| SY250 | DO | Si Gleichrichterdiode 50V...1000V 250A | |||
| SY320 | DO 27 | Si Gleichrichterdiode 75V...1000V 0,95A | BY201 | ||
| SY330 | DO 15 | Si Gleichrichterdiode 100V...2000V 0,5A | PDF: 84K | BY203 | |
| SY345 | DO 15 | Si Gleichrichterdiode 50V...1000V 0,5A | BY113 | ||
| SY346 | DO 15 | Si Gleichrichterdiode 50V...1000V 0,6A...0,8A | |||
| SY347 | DO 15 | Si Gleichrichterdiode 50V...1000V 0,5A...0,7A | 1P643 | ||
| SY351 | DO 27 | Si Gleichrichterdiode 50V...1600V 3A | PDF: 66K | BY251 | |
| SY356 | DO 27 | Si Gleichrichterdiode 50V...1000V 2,3A...3A | PDF: 80K | BYX258 | |
| SY360 | DO 15 | Si Gleichrichterdiode 50V...1600V 0,95A | 1N400x | ||
| SY361 | DO 15 | Si Gleichrichterdiode 1000V...1800V 1A | 1N4007 | ||
| SY525 | DO 4 | Schottky-Gleichrichterdiode 20V...70V 30A | PDF: 281K | ||
| SY526 | DO 4 | Schottky-Gleichrichterdiode 30V...45V 25A | PDF: 275K | ||
| SY625 | DO 4 | Si-Gleichrichterdiode 50V...200V 28A | PDF: 264K | ||
| SY710 | DO 220 | Si-Gleichrichterdiode 50V...200V 7A | PDF: 304K | BAW29 | |
| SY715 | DO 220 | Si-Gleichrichterdiode 50V...200V 12A | PDF: 338K | BVY79 | |
| SZ500 | M4 | Si Z-Diode 1V...22V 5% 8W | |||
| SZ600 | M4 | Si Z-Diode 0,75V...22V 5% 8W | BZY95 | ||
| SZX18 | DO | schwarz | Si Z-Diode 1V...33V 10% 0,5W | BZX55 | |
| SZX19 | DO | rot | Si Z-Diode 5,1V...33V 5% 0,5W | BZX55 | |
| Typ | Bauform | Aufdruck | Beschreibung | Datenblatt | Vergleichstyp |
| SZX21 | Miniplast | Si Z-Diode 1V...24V 5% 0,4W | BZX55 | ||
| SZY20 | HC33U | schwarz | Si Referenzelement 8,4V TK10 | BZY22 | |
| SZY21 | HC33U | gelb | Si Referenzelement 8,4V TK5 | BZY23 | |
| SZY22 | HC33U | blau | Si Referenzelement 8,4V TK2 | BZY24 | |
| SZY23 | HC33U | rot | Si Referenzelement 8,4V TK1 | BZY25 | |
| TTA20 | Hybrid-IC Instrumentenverstärker | PDF: 326K | |||
| U.88.. | Einchipmikrorechner | PDF: 672K | |||
| U1001C | DIL 16 | Filter-IC für Telefone | PDF: 707K | ||
| U101 | DIL 14 | P-MOS zwei Volladdierer | PDF: 186K | ||
| U1011C | DIL 16 | Codec-IC für Telefone | PDF: 774K | ||
| U102 | DIL 10 | P-MOS zwei NOR-Gatter | PDF: 170K | ||
| U1021C | DIL 24 | Zeitlagensteuer-Ifür Telefone | PDF: 617K | ||
| U103 | DIL 10 | P-MOS RST-FF | PDF: 184K | ||
| U104 | DIL 10 | P-MOS zweifach XOR | PDF: 168K | ||
| U105 | DIL 14 | P-MOS 6-fach Transistor | PDF: 149K | ||
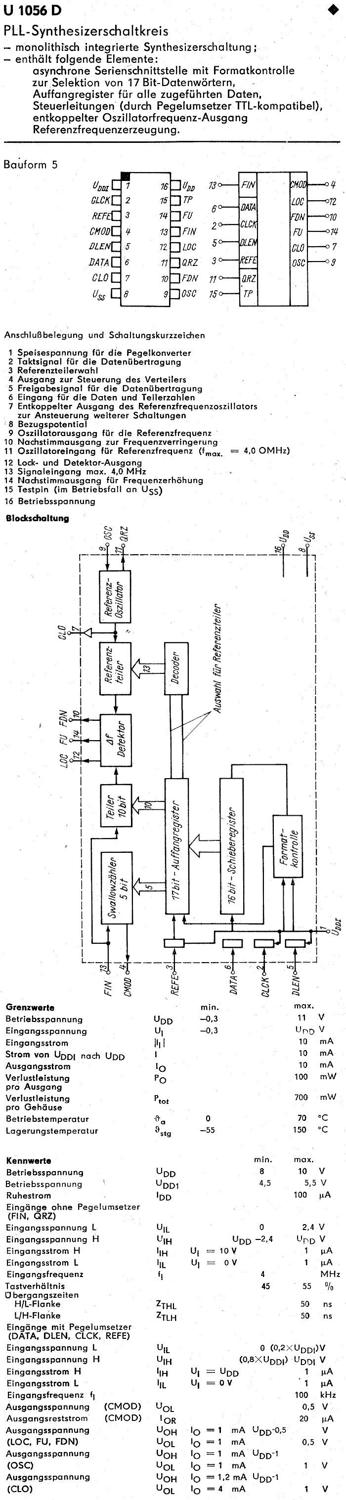
| U1056D | DIL 16 | PLL-Synthesizerschaltkreis | PDF: 1,1M | SAA1056 | |
| U1059D | DIL 16 | Frequenzteiler | PDF: 338K | SAA1059 | |
| U106 | DIL 16 | P-MOS 6-fach NOR | PDF: 175K | ||
| U107 | DIL 16 | P-MOS 3-fach AND | PDF: 178K | ||
| U108 | DIL 22 | P-MOS 2-fach JK-FF | PDF: 216K | ||
| U109 | DIL 14 | P-MOS Paritätsdetektor | PDF: 162K | ||
| U111 | DIL 24 | P-MOS Frequenzteiler 7 x 2:1 | |||
| U112 | DIL 14 | P-MOS Frequenzteiler 7 x 2:1 | PDF: 156K | ||
| U113F | Flat-Pack 8 | Uhren-IC | PDF: 51K | ||
| U114D | DIL 10 | Uhren-IC 4,19 MHz | TC8066 | ||
| Typ | Bauform | Aufdruck | Beschreibung | Datenblatt | Vergleichstyp |
| U1159DC | DIL 16 | Teilerschaltkreis | PDF: 575K | ||
| U116S | DIL 10 | Uhren-IC 32768 Hz | |||
| U117X | Chip | Uhren-IC | E1156/1201 | ||
| U118F | Plat-Pack 8 | Uhren-IC | T3648A | ||
| U121D | DIL 28 | 4-Bit-binär Vor-Rückwätszähler | PDF: 247K | ||
| U122D | DIL 28 | 4-Bit-binär Vor-Rückwätszähler | PDF: 247K | ||
| U125D | DIL 40 | 4-Dekaden-Zähler mit 7Segment-Multiplexausgang | PDF: 2,1M | ||
| U126D | DIL 40 | 4-Dekaden-Zähler für Digitalvoltmeter | PDF: 322K | ||
| U1301XS | Chip | Uhren-IC für LCD | |||
| U1311 | FlatPack 64 | Uhren-IC für Schaltuhren | |||
| U131G | PQFP 53 | Uhren-IC für LCD | TC8208AF-AS | ||
| U1600 | QFP 28...124 | CMOS-Standardzellensystem | |||
| U192D | DIL 16 | 1½-stelliger Siebensegment-Dekoder | PDF: 453K | ||
| U202D | DIL 16 | sRAM 1K x 1 | PDF: 358K | 2102A | |
| U2148D | DIL 18 | sRAM 1K x 4 | PDF: 820K | 2148 | |
| U214D | DIL 18 | sRAM 1K x 4 | PDF: 682K | 2114 | |
| U215D | DIL 16 | sRAM 1K x 1 | PDF: 636K | P2115 | |
| U2164C | DIL 18 | dRAM 64K x 1 | PDF: 1,3M | MCM6664 | |
| U224D | DIL 18 | sRAM 1K x 4 | PDF: 442K | 6514 | |
| U225D | DIL 16 | sRAM 1K x 1 | PDF: 636K | P2125 | |
| U2316C | DIL 24 | ROM 2K x 8 | PDF: 568K | ||
| U2364C | DIL 28 | ROM 8K x 8 | PDF: 445K | I2364 | |
| U2365C | DIL 28 | ROM 8K x 8 mit Adress-Latches | PDF: 445K | ||
| U253D | DIL 18 | dRAM 1K x 1 | PDF: 395K | P1103 | |
| U256D | DIL 16 | dRAM 16K x 1 | PDF: 1,5M | MK4116 | |
| Typ | Bauform | Aufdruck | Beschreibung | Datenblatt | Vergleichstyp |
| U2616D | DIL 24 | PROM 2K x 8 | PDF: 541K | I2616 | |
| U2632D | DIL 24 | PROM 4K x 8 | PDF: 211K | ||
| U2664D | DIL 28 | PROM 8K x 8 | |||
| U2716D | DIL 24 | EPROM 2K x 8 | PDF: 541K | I2716 | |
| U2732D | DIL 24 | EPROM 4K x 8 | PDF: 854K | 2732 | |
| U2764D | DIL 28 | EPROM 8K x 8 | |||
| U311 | DIL 16 | P-MOS 5-Bit-Schieberegister | PDF: 44K | ||
| U32C20 | PQFP 68 | Digitaler Signalprozessor | |||
| U352 | DIL 10 | P-MOS 64-Bit-Schieberegister | PDF: 255K | MEM3064 | |
| U4... | CMOS-Logik-ICs | MC14... | |||
| U401D | DIL 28 | ROM Zeichengenerator 64 x 50 | PDF: 77K | ||
| U402D | DIL 24 | ROM Zeichengenerator 64 x 40 | PDF: 78K | ||
| U403D | DIL 24 | ROM Zeichengenerator 32 x 80 | PDF: 76K | ||
| U40511D | DIL 16 | BCD zu 7-Segment-Dekoder mit Hexadezimalzeichen | PDF: 666K | (CD4511) | |
| U4538 | DIL 18 | RAM 1k x 4 CMOS | |||
| U501D | DIL 24 | ROM 256 x 8 | PDF: 91K | P1302 | |
| U505D | DIL 24 | ROM 1K x 8 | I2308 | ||
| U5200 | PLCC 64 | CMOS Gate-Array | PDF: 490K | ||
| U5300 | QFP 124 | CMOS Gate-Array | |||
| U551D | DIL 24 | PROM 256 x 8 | I1602A | ||
| U552D | DIL 24 | EPROM 256 x 8 | 1702A | ||
| U555C | DIL 24 | EPROM 1024 x 8 | PDF: 104K | 2708 | |
| U61000 | DIL 18 | dRAM 1M x 1 | |||
| U61256DC | DIL 16 | dRAM 256K x 1 | PDF: 1,3M | 41256 | |
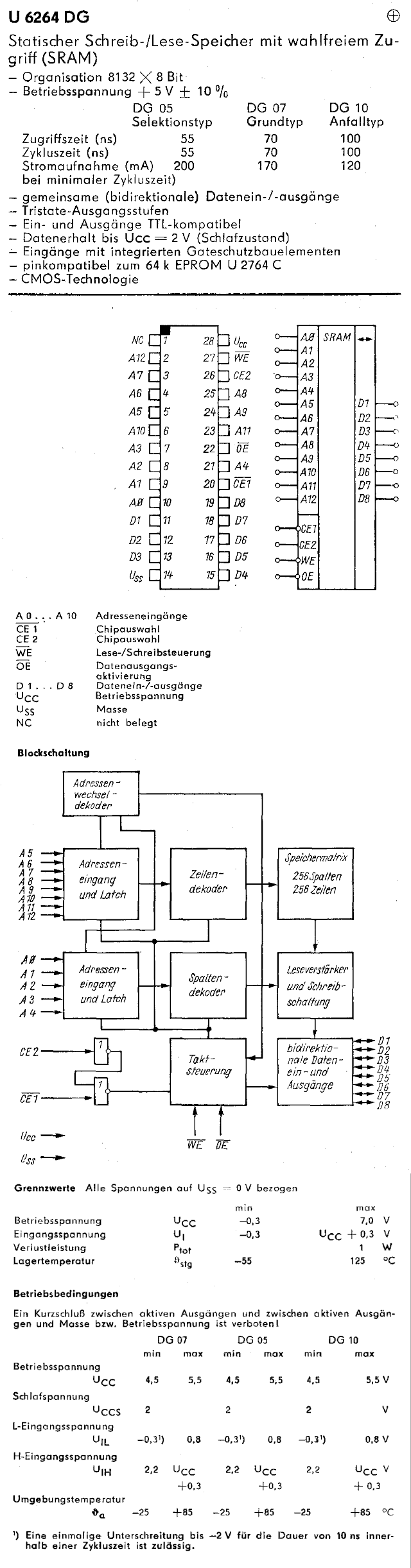
| U6264DG | DIL 28 | sRAM 8K x 8 | PDF: 146K | 8464 | |
| Typ | Bauform | Aufdruck | Beschreibung | Datenblatt | Vergleichstyp |
| U6516D | DIL 24 | sRAM 2K x 8 | PDF: 784K | HM6516 | |
| U6548D | DIL 18 | sRAM 1K x 4 | PDF: 589K | HM6548 | |
| U700 | DIL 22 | Programmwahlschaltkreis | PDF: 49K | ||
| U705 | DIL 24 | Programmwahlschaltkreis | PDF: 97K | ||
| U706D | DIL 24 | Thyristor-Ansteuer-IC | PDF: 80K | ||
| U708D | DIL 16 | Ansteuer-IC für Triacs | PDF: 816K | ||
| U710 | DIL 16 | Programmwahlschaltkreis | PDF: 91K | ||
| U711 | DIL 16 | Dekoderschaltkreis | PDF: 68K | ||
| U713 | DIL 18 | Telefon-Tastwahl-IC | |||
| U714PC | PLCC 64 | Ansteuer-IC für LCD-Punktmatrix | PDF: 900K | HD44100 | |
| U739DC | DIL 28 | 12 bit A/D-Umsetzer | |||
| U7650DD | DIL 14 | Chopperstabilisierter CMOS-OPV | ICL7650 | ||
| U7660D | DIL 8 | Spannungswandler-IC | PDF: 438K | ICL7660 | |
| U8030D | DIL 40 | SCC | PDF: 491K | Z8030 | |
| U8036D | DIL 40 | Zähler/Zeitgeber und I/O-IC | PDF: 374K | Z8036 | |
| U8047P | PCC 64 | Einchip-Mikrorechner-IC | PDF: 1,1M | ||
| U804D | DIL 16 | 6-fach Analogwertspeicher und D/A-Wandler | PDF: 738K | SAB3013 | |
| U805D | DIL 24 | Antriebssteuerschaltkreis | |||
| U80601 | PLCC 68 | 16 Bit Mikroprozessor | |||
| U80606 | DIL 20 | Buscontroller | |||
| U80608 | PLCC 68 | IC für Fehlererkennung und -korrektur | |||
| U80610 | PLCC 68 | DRAM-Controller | |||
| U806D | DIL 24 | IR-Fernbedienungs-Empfänger | PDF: 2,3M | SAB3022B | |
| U80701 | PLCC 68 | 31 Bit Mikroprozessorder | |||
| U8071 | PLCC 68 | 31 Bit Mikroprozessorder | |||
| Typ | Bauform | Aufdruck | Beschreibung | Datenblatt | Vergleichstyp |
| U807D | DIL 24 | IR-Fernbedienungs-Sender | PDF: 2,3M | SAB3021 | |
| U808D | DIL 18 | 8 Bit CPU | P8008 | ||
| U82062D | DIL 40 | HDC | PDF: 287K | ||
| U821D | DIL 28 | Taschenrechner-IC | PDF: 98K | ||
| U8246I | PCC 24 | sRAM 256 x 4 | PDF: 670K | ||
| U824G | PQFO 56 | Taschenrechner-IC | |||
| U82530D | DIL 40 | SCC | PDF: 491K | P82530 | |
| U82536D | DIL 40 | Zähler/Zeitgeber und I/O-IC | PDF: 374K | Z8536 | |
| U825G | PQFO 53 | Taschenrechner-IC mit Uhrenfunktion | T3566 | ||
| U826G | PQFO 56 | Taschenrechner-IC | T3636 | ||
| U82720D | DIL 40 | Graphic-Display-Controller | PDF: 727K | uPD82720 | |
| U8272D | DIL 40 | Floppy-Disk-Controller | PDF: 1,1M | I8272 | |
| U830C | DIL 48 | 8 Bit CPU | |||
| U834C | DIL 48 | Busanpass-IC | |||
| U84C00 | DIL 40 | Z80 CPU CMOS | Z84C00 | ||
| U84C20 | DIL 40 | Z80 PIO CMOS | Z84C20 | ||
| U84C30 | DIL 40 | Z80 CTC CMOS | Z84C30 | ||
| U84C40 | DIL 40 | Z80 SIO CMOS | Z84C40 | ||
| U855 | DIL 40 | Z80 PIO | |||
| U856 | DIL 40 | Z80 SIO | PDF: 105K | ||
| U8560 | DIL 40 | Z80 SIO =U856 | PDF: 105K | ||
| U8561 | DIL 40 | Z80 SIO (U856 Bondvariante) | PDF: 127K | ||
| U857 | DIL 28 | Z80 CTC | PDF: 248K | ||
| U858 | DIL 40 | Z80 DMA | PDF: 68K | ||
| U8611D | DIL 40 | Einchipmikrorechner | PDF: 553K | Z8682 | |
| Typ | Bauform | Aufdruck | Beschreibung | Datenblatt | Vergleichstyp |
| U880 | DIL 40 | Z80 CPU | |||
| U9032XC | Chip | Ansteuer-IC für LED-Zeile | PDF: 321K | ||
| UA855 | DIL 40 | Z80 PIO wie U855 4 MHz | Z80A-PIO | ||
| UA856 | DIL 40 | Z80 SIO wie U856 4 MHz | PDF: 127K | Z80A-SIO | |
| UA8563 | DIL 40 | Z80 DART 0...70°C 4 Mhz | PDF: 127K | Z80A-DART | |
| UA857 | DIL 28 | Z80 CTC wie U857 4 MHz | PDF: 248K | Z80A-CTC | |
| UA858 | DIL 40 | Z80 DMA wie U858 4 MHz | PDF: 68K | Z80A-DMA | |
| UA880 | DIL 40 | Z80 CPU wie U880 4MHz | Z80A-CPU | ||
| UB8001 | DIL 48 | Mikroprozessor 16-Bit | PDF: 616K | ||
| UB8002 | DIL 40 | Mikroprozessor 16-Bit | PDF: 616K | ||
| UB8010C | DIL 48 | MMU zum Mikroprozessor UB800x | PDF: 487K | ||
| UB8032C | DIL 48 | FPU zum Mikroprozessor UB800x | |||
| UB855 | DIL 40 | Z80 PIO wie U855 | Z80-PIO | ||
| UB856 | DIL 40 | Z80 SIO =U856 | PDF: 127K | Z80-SIO | |
| UB8563 | DIL 40 | Z80 DART 0...70°C 2,5 MHz | PDF: 127K | Z80-DART | |
| UB857 | DIL 28 | Z80 CTC wie U857 | PDF: 248K | Z80-CTC | |
| UB858 | DIL 40 | Z80 DMA wie U858 | PDF: 68K | Z80-DMA | |
| UB880 | DIL 40 | Z80 CPU wie U880 | Z80-CPU | ||
| UB8810 | DIL 40 | Einchip-Mikrorechner 2k int. ROM int. Osz. | PDF: 351K | Z8601 | |
| UB8811 | DIL 40 | Einchip-Mikrorechner 2k int. ROM power down | PDF: 351K | Z8601 | |
| UB8820 | QUIP 64 | Einchip-Mikrorechner 2k ext. ROM int. Osz. | Z8602 | ||
| UB8821 | QUIP 64 | Einchip-Mikrorechner 2k ext. ROM power down | Z8602 | ||
| UB8830 | DIL 40 | Einchip-Mikrorechner Tiny Basic int. Osz. | PDF: 351K | ||
| UB8831 | DIL 40 | Einchip-Mikrorechner Tiny Basic power down | PDF: 351K | ||
| UB8840 | QUIP 64 | Einchip-Mikrorechner 4k ext. ROM int. Osz. | Z8612 | ||
| Typ | Bauform | Aufdruck | Beschreibung | Datenblatt | Vergleichstyp |
| UB8841 | QUIP 64 | Einchip-Mikrorechner 4k ext. ROM power down | Z8612 | ||
| UB8860 | DIL 40 | Einchip-Mikrorechner ROM-lose Version int. Osz. | Z8682 | ||
| UB8861 | DIL 40 | Einchip-Mikrorechner ROM-lose Version power down | Z8682 | ||
| UL224D | DIL 18 | sRAM 1K x 4 | PDF: 442K | ||
| UL7211 | DIP 40 | LCD-Ansteuerschaltkreis | PDF: 103K | ICM7211AMIPL | |
| UL8611D | DIL 40 | Einchipmikrorechner power down mode | PDF: 553K | ||
| UP7211 | DIP 40 | LCD-Ansteuerschaltkreis | PDF: 103K | ICM7211AIPL | |
| US224D | DIL 18 | sRAM 1K x 4 | PDF: 442K | ||
| V4... | CMOS Logik | CD4... | |||
| V40511 | DIL 16 | BCD zu 7-Segment Dekoder | PDF: 533K | (CD4511) | |
| VB855 | DIL 40 | Z80 PIO wie U855 -25...+85°C | Z80-PIO | ||
| VB856 | DIL 40 | Z80 SIO wie U856 -25...+85°C | PDF: 127K | Z80-SIO | |
| VB8563 | DIL 40 | Z80 DART -25...85°C 2,5 MHz | PDF: 127K | Z80-DART | |
| VB857 | DIL 28 | Z80 CTC wie U857 -25...+85°C | PDF: 248K | Z80-CTC | |
| VB880 | DIL 40 | Z80 CPU wie U880 -25...+85°C | Z80-CPU | ||
| VFE15 | TO 120 | GaAs-FET bis 12 Ghz | |||
| VK11 | 10 x Siebensegment rot 3,4 mmm | PDF: 63K | |||
| VK12 | 9 x Siebensegment rot 3,4 mmm | PDF: 63K | |||
| VK15 | 9 x Siebensegment rot 3,4 mmm | PDF: 63K | |||
| VL224D | DIL 18 | sRAM 1K x 4 | PDF: 442K | ||
| VQ110 | (opto) | Infrarot-LED 4mm | PDF: 69K | ||
| VQ120 | (opto) | Infrarot-LED (In-Loch Montage) | PDF: 374K | TIL23 | |
| VQ121 | (opto) | Infrarot-LED 2mm | PDF: 297K | LD261 | |
| VQ123 | (opto) | Infrarot-LED 3mm | SFH409 | ||
| VQ125 | (opto) | Infrarot-LED 5mm | LD271 | ||
| Typ | Bauform | Aufdruck | Beschreibung | Datenblatt | Vergleichstyp |
| VQ130 | (opto) | Infrarot-LED mit Monitordiode, LWL-Anschluss | PDF: 41K | C30119 | |
| VQ150 | (opto) | Infrarot-Laserdiode mit Monitordiode und Peltierelement | PDF: 653K | ||
| VQ170 | (opto) | Infrarot-LED mit LWL-Anschluss | PDF: 222K | ||
| VQ175 | (opto) | Infrarot-LED mit LWL-Anschluss | PDF: 346K | ||
| VQA10 | (opto) | LED 5mm rot diffus | CQV21 | ||
| VQA101 | (opto) | LED 5x1 mm rot | PDF: 322K | CQW60L | |
| VQA102 | (opto) | LED 5 mm rot | PDF: 322K | ||
| VQA103 | (opto) | LED 5x2,3 mm rot | CQW60L | ||
| VQA12 | (opto) | LED 4mm rot | |||
| VQA13 | (opto) | LED 5mm rot, klar diffus | PDF: 37K | TLR116A | |
| VQA13-1 | (opto) | LED 5mm rot diffus | LR5160 | ||
| VQA14 | (opto) | LED 2,4x4,85 mm rot diffus | PDF: 109K | LRB480 | |
| VQA15 | (opto) | LED 2mm rot | PDF: 53K | LRZ181 | |
| VQA16 | (opto) | LED 5mm rot klar | PDF: 653K | TLR153 | |
| VQA17 | (opto) | LED 3mm rot | PDF: 653K | TLR124 | |
| VQA18 | (opto) | LED 5x2 mm rot | PDF: 109K | TLR208 | |
| VQA19 | (opto) | LED 5 mm Dreieck rot | PDF: 109K | TLR207 | |
| VQA201 | (opto) | LED 5x1 mm grün | PDF: 322K | CQW60L | |
| VQA202 | (opto) | LED 5 mm grün | PDF: 322K | ||
| VQA203 | (opto) | LED 5x2,3 mm grün | CQW60L | ||
| VQA23 | (opto) | LED 5mm grün diffus | PDF: 64K | LG5160 | |
| VQA24 | (opto) | LED 2,4x4,85 mm grün diffus | PDF: 109K | LGB480 | |
| VQA25 | (opto) | LED 2mm grün | PDF: 482K | LGZ181 | |
| VQA26 | (opto) | LED 5mm grün klar | PDF: 653K | TLG153 | |
| VQA27 | (opto) | LED 3mm grün | PDF: 653K | TLG124 | |
| Typ | Bauform | Aufdruck | Beschreibung | Datenblatt | Vergleichstyp |
| VQA28 | (opto) | LED 5x2 mm grün | PDF: 109K | TLG208 | |
| VQA29 | (opto) | LED 5 mm Dreieck grün | PDF: 109K | TLG207 | |
| VQA301 | (opto) | LED 5x1 mm gelb | PDF: 322K | CQW60L | |
| VQA303 | (opto) | LED 5x2,3 mm gelb | CQW60L | ||
| VQA33 | (opto) | LED 5mm gelb diffus | PDF: 67K | LY5160 | |
| VQA34 | (opto) | LED 2,4x4,85 mm gelb diffus | PDF: 109K | LYB480 | |
| VQA35 | (opto) | LED 2mm gelb | PDF: 482K | LYZ181 | |
| VQA36 | (opto) | LED 5mm gelb klar | PDF: 653K | TLY153 | |
| VQA37 | (opto) | LED 3mm gelb | PDF: 653K | TLY124 | |
| VQA38 | (opto) | LED 5x2 mm gelb | PDF: 109K | TLY208 | |
| VQA39 | (opto) | LED 5 mm Dreieck gelb | PDF: 109K | TLY207 | |
| VQA46 | (opto) | LED 5mm orange klar | PDF: 653K | TLO153 | |
| VQA47 | (opto) | LED 3mm orange | PDF: 653K | TLO124 | |
| VQA49 | (opto) | LED 5 mm Dreieck orange | PDF: 109K | TLO207 | |
| VQA60 | (opto) | LED 5 mm rot/grün | PDF: 467K | LD100 | |
| VQA70 | (opto) | LED 5 mm rot/gelb | PDF: 467K | ||
| VQA80 | (opto) | LED 5 mm grün/gelb | PDF: 467K | ||
| VQB16 | (opto) | Siebensegment [±1.] 3/4" rot | PDF: 435K | (HDSP3906) | |
| VQB17 | (opto) | Siebensegment [8] 3/4" rot gem.Katode | PDF: 435K | (HDSP3903) | |
| VQB18 | (opto) | Siebensegment [8] 3/4" rot gem.Anode | PDF: 435K | (HDSP3901) | |
| VQB200 | (opto) | 16-Segment-Anzeige 1/2" grün gem.Katode | PDF: 453K | (TLG370) | |
| VQB201 | (opto) | 16-Segment-Anzeige 1/2" grün gem.Anode | PDF: 453K | (TLG371) | |
| VQB26 | (opto) | Siebensegment [±1.] 3/4" grün | PDF: 88K | (HDSP8606) | |
| VQB27 | (opto) | Siebensegment [8] 3/4" grün gem.Katode | PDF: 88K | (HDSP8603) | |
| VQB28 | (opto) | Siebensegment [8] 3/4" grün gem.Anode | PDF: 88K | (HDSP8601) | |
| Typ | Bauform | Aufdruck | Beschreibung | Datenblatt | Vergleichstyp |
| VQB37 | (opto) | Siebensegment [8] 3,4 mm rot gem.Katode | |||
| VQB71 | (opto) | Siebensegment [8] 7 mm rot gem.Anode | PDF: 39K | ||
| VQB73 | (opto) | Siebensegment [+,-,%] 7 mm rot gem.Anode | PDF: 39K | ||
| VQC10 | (opto) | 4 x Punktmatrix 5x7 rot 8 mmm | PDF: 135K | ||
| VQC32 | (opto) | 3 x Siebensegment rot 3,4 mmm | |||
| VQD30 | (opto) | 9 x Siebensegment rot 3,4 mmm | PDF: 31K | HP5082-7449 | |
| VQD32 | (opto) | 12 x Siebensegment rot 3,4 mmm | HP5082-7442 | ||
| VQE11 | (opto) | 2 x Siebensegment [±1.8.] rot 1/2" gem.Katode | PDF: 78K | TLR326 | |
| VQE12 | (opto) | 2 x Siebensegment [±1.8.] rot 1/2" gem.Anode | PDF: 78K | TLR427 | |
| VQE13 | (opto) | 2 x Siebensegment [8.8.] rot 1/2" gem.Katode | PDF: 78K | TLR324 | |
| VQE14 | (opto) | 2 x Siebensegment [8.8.] rot 1/2" gem.Anode | PDF: 78K | TLR325 | |
| VQE21 | (opto) | 2 x Siebensegment [±1.8.l grün 1/2" gem.Katode | TLG326 | ||
| VQE22 | (opto) | 2 x Siebensegment [±1.8.] grün 1/2" gem.Anode | TLG327 | ||
| VQE23 | (opto) | 2 x Siebensegment [8.8.] grün 1/2" gem.Katode | TLG324 | ||
| VQE24 | (opto) | 2 x Siebensegment [8.8.] grün 1/2" gem.Anode | TLG325 | ||
| VQH200 | (opto) | Lichtemitter-Punktanzeige 24 LEDs grün Breite: 60 mm | |||
| VQH205 | (opto) | 5 x Siebensegment und [kHz],[MHz] grün 6,6 mm gem.Anode | PDF: 283K | ||
| VQH206 | (opto) | 4 x Siebensegment [888_8] grün 6,6 mm gem.Anode | PDF: 283K | ||
| VQH207 | (opto) | 4 x Siebensegment [88_88] grün 6,6 mm gem.Anode | PDF: 283K | ||
| VQH601 | (opto) | LED-Zeile, Reihenschaltung 1x rot 5x grün | PDF: 225K | ||
| VQH604 | (opto) | LED-Zeile, Reihenschaltung 1x rot 5x grün | PDF: 283K | ||
| ZA250 | Si-Zenerdioden 1...24V 250mW | ||||
| ZL910 | DO | Si-Leistungszenerdioden 6,5..15V 5W |
Ich möchte mich bedanken bei (alphabetisch) Henrik H., Holger B., Karsten J. und Knut T.,
deren Zutun mir das Erstellen dieser Liste erleichtert hat.